OpenClaw - 智能体
网关架构 (Gateway Architecture)
概述
- 一个长期的网关 (Gateway) 进程拥有所有消息传输表面(WhatsApp 通过 Baileys,Telegram 通过 grammY,Slack,Discord,Signal,iMessage,WebChat)。
- 控制平面客户端(macOS 应用、CLI、Web UI、自动化脚本)通过 WebSocket 连接到网关,绑定在配置的主机上(默认
127.0.0.1:18789)。 - 节点 (Nodes)(macOS/iOS/Android/无头设备)也通过 WebSocket 连接,但需声明
role: node并包含明确的能力/命令。 - 每台主机对应一个网关;它是唯一开启 WhatsApp 会话的地方。
- 画布主机 (Canvas host)(默认
18793)用于提供代理可编辑的 HTML 和 A2UI。
组件与流程
网关 (Gateway) (守护进程)
- 维护提供商连接。
- 公开类型化的 WS API(请求、响应、服务器推送事件)。
- 根据 JSON Schema 验证入站数据帧。
- 触发事件,如
agent、chat、presence、health、heartbeat、cron。
客户端 (Client) (Mac 应用 / CLI / Web 管理)
- 每个客户端一条 WS 连接。
- 发送请求 (
health、status、send、agent、system-presence)。 - 订阅事件 (
tick、agent、presence、shutdown)。
节点 (Nodes) (macOS / iOS / Android / 无头设备)
- 使用
role: node连接到相同的 WS 服务器。 - 在
connect中提供设备身份;配对是基于设备的(角色为node),批准记录存储在设备配对存储中。 - 公开命令,如
canvas.*、camera.*、screen.record、location.get。
协议详情:
- [网关协议 (/gateway/protocol)]
WebChat
- 使用网关 WS API 进行聊天历史记录和发送的静态 UI。
- 在远程设置中,通过与其他客户端相同的 SSH/Tailscale 隧道连接。
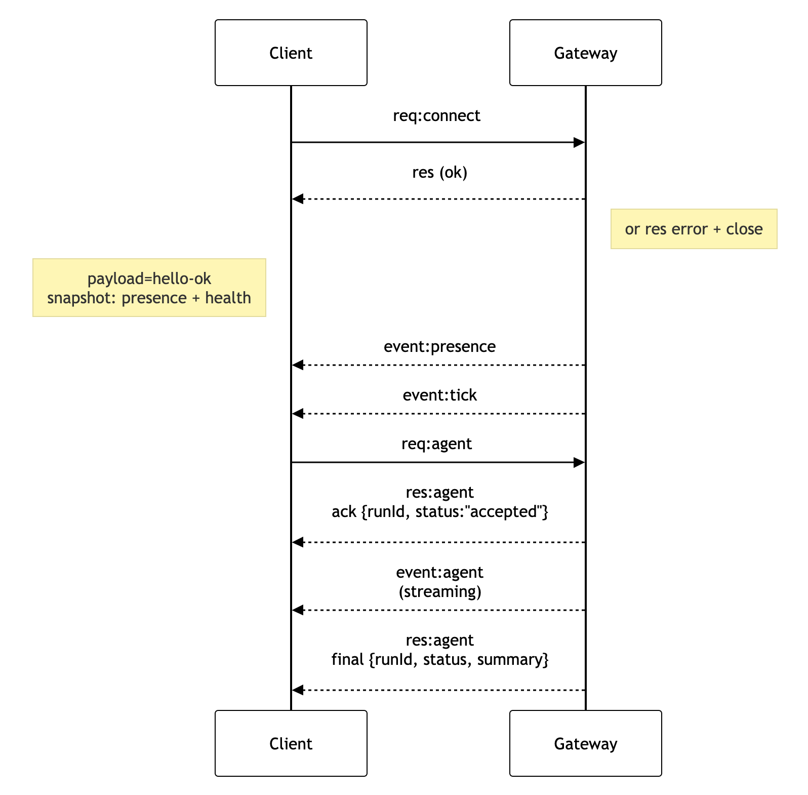
连接生命周期 (单客户端)
%%{init: {
'theme': 'base',
'themeVariables': {
'primaryColor': '#ffffff',
'primaryTextColor': '#000000',
'primaryBorderColor': '#000000',
'lineColor': '#000000',
'secondaryColor': '#f9f9fb',
'tertiaryColor': '#ffffff',
'clusterBkg': '#f9f9fb',
'clusterBorder': '#000000',
'nodeBorder': '#000000',
'mainBkg': '#ffffff',
'edgeLabelBackground': '#ffffff'
}
}}%%
sequenceDiagram
participant Client
participant Gateway
Client->>Gateway: req:connect
Gateway-->>Client: res (ok)
Note right of Gateway: or res error + close
Note left of Client: payload=hello-ok<br>snapshot: presence + health
Gateway-->>Client: event:presence
Gateway-->>Client: event:tick
Client->>Gateway: req:agent
Gateway-->>Client: res:agent<br>ack {runId, status:"accepted"}
Gateway-->>Client: event:agent<br>(streaming)
Gateway-->>Client: res:agent<br>final {runId, status, summary}

有线协议 (摘要)
- 传输: WebSocket,文本帧携带 JSON 有效负载。
- 第一帧必须是
connect。 - 握手后:
- 请求:
{type:"req", id, method, params}→{type:"res", id, ok, payload|error} -
事件:
{type:"event", event, payload, seq?, stateVersion?} - 如果设置了
OPENCLAW_GATEWAY_TOKEN(或--token),connect.params.auth.token必须匹配,否则套接字关闭。 - 具有副作用的方法 (
send、agent) 需要幂等键以安全重试;服务器保留一个短期的去重缓存。 - 节点在
connect中必须包含role: "node"以及能力/命令/权限。
配对 + 本地信任
- 所有 WS 客户端(操作员 + 节点)在
connect时包含一个设备身份。 - 新设备 ID 需要配对批准;网关为后续连接签发设备令牌。
- 本地连接(环回地址或网关主机自身的 tailnet 地址)可以自动批准,以保持同机体验流畅。
- 非本地连接必须对
connect.challenge随机数进行签名,并需要明确批准。 - 网关身份验证 (
gateway.auth.*) 仍然适用于所有连接,无论是本地还是远程。
详情: [网关协议 (/gateway/protocol)],[配对 (/channels/pairing)],[安全性 (/gateway/security)]。
协议类型定义与代码生成
- TypeBox 模式定义协议。
- 根据这些模式生成 JSON Schema。
- 根据 JSON Schema 生成 Swift 模型。
远程访问
- 首选: Tailscale 或 VPN。
- 替代方案: SSH 隧道 ```bash ssh -N -L 18789:127.0.0.1:18789 user@host
* 相同的握手 + 身份验证令牌适用于隧道连接。
* TLS + 可选锚定 (pinning) 可用于远程设置中的 WS。
## 操作快照
* 启动: `openclaw gateway` (前台运行,日志输出到 stdout)。
* 健康状态: WS 上的 `health` 命令(也包含在 `hello-ok` 中)。
* 监管: 使用 launchd/systemd 进行自动重启。
## 不变性条件
* 每台主机只有一个网关控制一个 Baileys 会话。
* 握手是强制的;任何非 JSON 或非 `connect` 的第一帧都会导致硬关闭。
* 事件不会重放;客户端必须在出现间隙时刷新。
------
# 智能体运行时 (Agent Runtime) 🤖
OpenClaw 运行着一个衍生自 **pi-mono** 的单一嵌入式智能体运行时。
## 工作空间 (Workspace) (必填)
OpenClaw 使用单个智能体工作空间目录 (`agents.defaults.workspace`) 作为智能体工具和上下文的**唯一**工作目录 (`cwd`)。
建议:如果 `~/.openclaw/openclaw.json` 缺失,请使用 `openclaw setup` 创建该文件并初始化工作空间文件。
完整工作空间布局 + 备份指南:[智能体工作空间 (/concepts/agent-workspace)]
如果启用了 `agents.defaults.sandbox`,非主会话可以通过 `agents.defaults.sandbox.workspaceRoot` 下的每个会话的工作空间来覆盖此设置(参见 [网关配置 (/gateway/configuration)])。
## 引导文件 (Bootstrap files) (注入)
在 `agents.defaults.workspace` 中,OpenClaw 需要以下用户可编辑的文件:
* `AGENTS.md` — 操作说明 + “记忆”
* `SOUL.md` — 人格、边界、基调
* `TOOLS.md` — 用户维护的工具注释(例如 `imsg`、`sag`、约定)
* `BOOTSTRAP.md` — 一次性首次运行仪式(完成后删除)
* `IDENTITY.md` — 智能体名称/氛围/表情符号
* `USER.md` — 用户画像 + 首选地址
在新会话的第一次轮询时,OpenClaw 会将这些文件的内容直接注入到智能体上下文中。
空文件会被跳过。大文件会被剪裁并用标记截断,以保持提示词精简(读取文件以获取完整内容)。
如果文件缺失,OpenClaw 会注入一个单行的“缺失文件”标记(并且 `openclaw setup` 会创建一个安全默认模板)。
`BOOTSTRAP.md` 仅针对**全新工作空间**(不存在其他引导文件)创建。如果您在完成仪式后将其删除,它不应在后续重启时重新创建。
若要完全禁用引导文件创建(适用于预填充的工作空间),请设置:
```json5
{ agent: { skipBootstrap: true } }
内置工具 (Built-in tools)
核心工具(读/执行/编辑/写及相关系统工具)始终可用,但受工具策略约束。apply_patch 是可选的,并受 tools.exec.applyPatch 控制。TOOLS.md 不控制哪些工具存在;它仅是关于您希望如何使用它们的指导。
技能 (Skills)
OpenClaw 从三个位置加载技能(在名称冲突时,工作空间优先):
- 捆绑技能 (随安装一起发布)
- 管理/本地技能:
~/.openclaw/skills - 工作空间技能:
<workspace>/skills
技能可以通过配置/环境变量进行限制(参见 [网关配置 (/gateway/configuration)] 中的 skills)。
pi-mono 集成
OpenClaw 重用了 pi-mono 代码库的部分内容(模型/工具),但会话管理、发现和工具连接均由 OpenClaw 自主拥有。
- 没有 pi-coding 智能体运行时。
- 不会查询
~/.pi/agent或<workspace>/.pi设置。
会话 (Sessions)
会话记录以 JSONL 格式存储在:
~/.openclaw/agents/<agentId>/sessions/<SessionId>.jsonl
会话 ID 是稳定的,由 OpenClaw 选择。 不读取旧的 Pi/Tau 会话文件夹。
流式传输时控制 (Steering while streaming)
当队列模式为 steer 时,入站消息会被注入到当前运行中。
每次工具调用后都会检查队列;如果存在队列消息,则跳过当前助手消息中的剩余工具调用(工具结果错误,提示“由于排队的有户消息而被跳过。”),然后在下一次助手响应之前注入排队的用户消息。
当队列模式为 followup 或 collect 时,入站消息会保留,直到当前轮次结束,然后使用排队的有效负载启动新的智能体轮次。请参阅 [队列 (/concepts/queue)] 了解模式 + 去抖/上限行为。
块流式传输 (Block streaming) 会在助手块完成时立即发送;它默认关闭 (agents.defaults.blockStreamingDefault: "off")。
通过 agents.defaults.blockStreamingBreak 调整边界(text_end 与 message_end;默认为 text_end)。
使用 agents.defaults.blockStreamingChunk 控制软块分块(默认 800–1200 字符;优先考虑段落断点,其次是换行符;句子最后)。
使用 agents.defaults.blockStreamingCoalesce 合并流式传输的块,以减少单行垃圾信息(发送前基于空闲时间的合并)。非 Telegram 频道需要明确的 *.blockStreaming: true 才能启用块回复。
工具的详细总结在工具启动时发出(无去抖);当可用时,控制 UI 通过智能体事件流式传输工具输出。
更多详情:[流式传输 + 分块 (/concepts/streaming)]。
模型引用 (Model refs)
配置中的模型引用(例如 agents.defaults.model 和 agents.defaults.models)通过在第一个 / 处进行拆分来解析。
- 配置模型时使用
provider/model。 - 如果模型 ID 本身包含
/(OpenRouter 风格),请包含提供商前缀(例如:openrouter/moonshotai/kimi-k2)。 - 如果省略提供商,OpenClaw 会将输入视为默认提供商的别名或模型(仅在模型 ID 中没有
/时有效)。
配置 (最低要求)
至少需设置:
agents.defaults.workspacechannels.whatsapp.allowFrom(强烈建议)
下一步: [群聊 (/channels/group-messages)] 🦞
智能体循环 (Agent Loop - OpenClaw)
智能体循环 (Agentic loop) 是智能体一次完整的“真实”运行:输入 → 上下文组装 → 模型推理 → 工具执行 → 流式回复 → 持久化。这是将消息转化为行动和最终回复的权威路径,同时保持会话状态的一致性。
在 OpenClaw 中,一个循环是每个会话的一次序列化运行,随着模型思考、调用工具和流式传输输出,它会发出生命周期和流事件。本文档解释了该真实循环是如何端到端连接的。
入口点
- 网关 RPC:
agent和agent.wait。 - CLI:
agent命令。
工作原理 (高层级)
agentRPC 验证参数,解析会话 (sessionKey/sessionId),持久化会话元数据,立即返回{ runId, acceptedAt }。agentCommand运行智能体:- 解析模型 + 思考/详尽 (verbose) 默认值
- 加载技能快照
- 调用
runEmbeddedPiAgent(pi-agent-core 运行时) - 如果嵌入式循环未发出,则发出生命周期结束/错误信号
runEmbeddedPiAgent:- 通过每会话 + 全局队列序列化运行
- 解析模型 + 认证配置并构建 pi 会话
- 订阅 pi 事件并流式传输助手/工具增量
- 强制执行超时 -> 如果超时则中止运行
- 返回有效负载 + 使用情况元数据
subscribeEmbeddedPiSession将 pi-agent-core 事件桥接到 OpenClawagent流:- 工具事件 =>
stream: "tool" - 助手增量 =>
stream: "assistant" - 生命周期事件 =>
stream: "lifecycle"(phase: "start" | "end" | "error")
- 工具事件 =>
agent.wait使用waitForAgentJob:- 等待
runId的生命周期结束/错误信号 - 返回
{ status: ok|error|timeout, startedAt, endedAt, error? }
- 等待
队列 + 并发
- 运行按会话密钥(会话通道)序列化,并可选择通过全局通道序列化。
- 这可以防止工具/会话竞争,并保持会话历史记录一致。
- 消息频道可以选择将数据馈送到此通道系统的队列模式(收集/引导/跟进)。参见 [命令队列 (/concepts/queue)]。
会话 + 工作空间准备
- 解析并创建工作空间;沙盒运行可能会重定向到沙盒工作空间根目录。
- 加载技能(或从快照中重用)并将其注入到环境和提示词中。
- 引导/上下文文件被解析并注入到系统提示词报告中。
- 获取会话写锁;在流式传输之前打开并准备好
SessionManager。
提示词组装 + 系统提示词
- 系统提示词由 OpenClaw 的基础提示词、技能提示词、引导上下文和每轮覆盖项构建。
- 强制执行特定于模型的限制和压缩预留令牌。
- 参见 [系统提示词 (/concepts/system-prompt)] 了解模型看到的内容。
钩子点 (Hook points - 您可以在此拦截)
OpenClaw 有两个钩子系统:
- 内部钩子 (网关钩子): 用于命令和生命周期事件的事件驱动脚本。
- 插件钩子: 智能体/工具生命周期和网关管道内的扩展点。
内部钩子 (网关钩子)
agent:bootstrap: 在最终确定系统提示词之前,在构建引导文件时运行。使用此功能添加/删除引导上下文文件。- 命令钩子:
/new、/reset、/stop和其他命令事件(参见钩子文档)。
设置和示例参见 [钩子 (/automation/hooks)]。
插件钩子 (智能体 + 网关生命周期)
这些在智能体循环或网关管道内运行:
before_agent_start: 在运行开始前注入上下文或覆盖系统提示词。agent_end: 完成后检查最终消息列表和运行元数据。- **
before_compaction/after_compaction**: 观察或注释压缩周期。 - **
before_tool_call/after_tool_call**: 拦截工具参数/结果。 tool_result_persist: 在工具结果写入会话记录之前同步转换它们。- **
message_received/message_sending/message_sent**: 入站 + 出站消息钩子。 - **
session_start/session_end**: 会话生命周期边界。 - **
gateway_start/gateway_stop**: 网关生命周期事件。
钩子 API 和注册详情参见 [插件 (/tools/plugin#plugin-hooks)]。
流式传输 + 部分回复
- 助手增量从 pi-agent-core 流出,并作为
assistant事件发出。 - 块流式传输可以在
text_end或message_end时发出部分回复。 - 推理流式传输可以作为独立流或块回复发出。
- 分块和块回复行为参见 [流式传输 (/concepts/streaming)]。
工具执行 + 消息工具
- 工具开始/更新/结束事件在
tool流上发出。 - 工具结果在记录/发出之前会进行大小和图像有效负载的清理。
- 消息工具发送会被追踪,以抑制重复的助手确认。
回复整形 + 抑制
- 最终有效负载由以下内容组装:
- 助手文本(和可选的推理)
- 内联工具总结(详尽模式且允许时)
-
模型出错时的助手错误文本
NO_REPLY被视为静默令牌,从传出的有效负载中过滤掉。- 消息工具的重复项从最终有效负载列表中删除。
- 如果没有可渲染的有效负载且工具出错,则会发出后备工具错误回复(除非消息工具已经发送了用户可见的回复)。
压缩 + 重试
- 自动压缩发出
compaction流事件,并可触发重试。 - 重试时,内存缓冲区和工具总结会被重置,以避免重复输出。
- 压缩管道参见 [压缩 (/concepts/compaction)]。
事件流 (当前)
lifecycle: 由subscribeEmbeddedPiSession发出(并由agentCommand作为后备发出)assistant: 来自 pi-agent-core 的流式增量tool: 来自 pi-agent-core 的流式工具事件
聊天频道处理
- 助手增量被缓冲到聊天
delta消息中。 - 聊天
final在生命周期结束/错误时发出。
超时
agent.wait默认值: 30秒(仅等待)。timeoutMs参数可覆盖。- 智能体运行时:
agents.defaults.timeoutSeconds默认 600秒;在runEmbeddedPiAgent中断计时器中强制执行。
可能过早结束的情况
- 智能体超时 (abort)
- AbortSignal (取消)
- 网关断开连接或 RPC 超时
agent.wait超时(仅等待,不停止智能体)
系统提示词 (System Prompt)
OpenClaw 为每次智能体运行构建自定义系统提示词。该提示词由 OpenClaw 自主拥有,不使用 p-coding-agent 的默认提示词。
该提示词由 OpenClaw 组装并注入到每次智能体运行中。
结构
提示词刻意保持紧凑,并使用固定分段:
- 工具 (Tooling): 当前工具列表 + 简短描述。
- 安全 (Safety): 简短的护栏提示,旨在避免寻租行为或绕过监管。
- 技能 (Skills) (适用时): 告知模型如何按需加载技能说明。
- OpenClaw 自更新 (OpenClaw Self-Update): 如何运行
config.apply和update.run。 - 工作空间 (Workspace): 工作目录 (
agents.defaults.workspace)。 - 文档 (Documentation): OpenClaw 文档的本地路径(仓库或 npm 包)以及何时阅读它们。
- 工作空间文件 (Workspace Files) (注入): 指示下方包含引导文件。
- 沙盒 (Sandbox) (启用时): 指示沙盒运行时、沙盒路径以及是否可以使用高权限执行。
- 当前日期与时间 (Current Date & Time): 用户本地时间、时区和时间格式。
- 回复标签 (Reply Tags): 支持的提供商的可选回复标签语法。
- 心跳 (Heartbeats): 心跳提示和确认行为。
- 运行时 (Runtime): 主机、操作系统、node 版本、模型、仓库根目录(检测到时)、思考水平(一行)。
- 推理 (Reasoning): 当前可见性级别 + /reasoning 切换提示。
系统提示词中的安全护栏仅供参考。它们指导模型行为,但不强制执行策略。硬性执行应使用工具策略、执行批准、沙盒和频道白名单;操作员在设计上可以禁用这些。
提示词模式 (Prompt modes)
OpenClaw 可以为子智能体渲染更小的系统提示词。运行时会为每次运行设置一个 promptMode(非用户界面配置):
full(默认): 包含上述所有分段。minimal: 用于子智能体;省略了技能、记忆回忆、OpenClaw 自更新、模型别名、用户身份、回复标签、消息传递、静默回复和心跳。工具、安全、工作空间、沙盒、当前日期与时间(已知时)、运行时和注入的上下文保持可用。none: 仅返回基础身份行。
当 promptMode=minimal 时,额外的注入提示词被标记为子智能体上下文 (Subagent Context),而不是群聊上下文 (Group Chat Context)。
工作空间引导注入 (Workspace bootstrap injection)
引导文件会被剪裁并附加在项目上下文 (Project Context) 下,以便模型在无需显式读取的情况下看到身份和个人资料上下文:
AGENTS.mdSOUL.mdTOOLS.mdIDENTITY.mdUSER.mdHEARTBEAT.mdBOOTSTRAP.md(仅在全新工作空间)
大文件会用标记截断。每个文件的最大大小由 agents.defaults.bootstrapMaxChars 控制(默认:20000)。缺失的文件会注入一个简短的“缺失文件”标记。
内部钩子可以通过 agent:bootstrap 拦截此步骤,以修改或替换注入的引导文件(例如将 SOUL.md 替换为另一个角色)。
若要检查每个注入文件占用了多少空间(原始与注入、截断、工具模式开销),请使用 /context list 或 /context detail。参见 [上下文 (/concepts/context)]。
时间处理 (Time handling)
当已知用户时区时,系统提示词包含专门的当前日期与时间分段。为了保持提示词缓存稳定,它现在只包含时区(没有动态时钟或时间格式)。
当智能体需要当前时间时,使用 session_status;状态卡片包含时间戳行。
通过以下方式配置:
agents.defaults.userTimezone-
agents.defaults.timeFormat(auto1224)
完整行为详情参见 [日期与时间 (/date-time)]。
技能 (Skills)
当存在符合条件的技能时,OpenClaw 会注入一个紧凑的可用技能列表 (formatSkillsForPrompt),其中包含每个技能的文件路径。提示词指示模型使用 read 加载位于列表位置(工作空间、受管或捆绑)的 SKILL.md。如果不符合条件,则省略技能分段。
<available_skills>
<skill>
<name>...</name>
<description>...</description>
<location>...</location>
</skill>
</available_skills>
这保持了基础提示词的小巧,同时实现了有针对性的技能使用。
文档 (Documentation)
当可用时,系统提示词包含一个文档分段,指向本地 OpenClaw 文档目录(仓库工作空间中的 docs/ 或捆绑的 npm 包文档),并注明公共镜像、源仓库、社区 Discord 和用于技能发现的 ClawHub (https://clawhub.com)。提示词指示模型首先查阅本地文档以获取 OpenClaw 行为、命令、配置或架构,并在可能时自行运行 openclaw status(仅在缺乏访问权限时询问用户)。
上下文 (Context)
“上下文”是 OpenClaw 发送给模型以进行单次运行的全部内容。它受限于模型的 上下文窗口(Token 限制)。
初学者心智模型:
- 系统提示词 (System prompt) (OpenClaw 构建): 规则、工具、技能列表、时间/运行时以及注入的工作空间文件。
- 对话历史 (Conversation history): 本次会话中您的消息 + 助手的消息。
- 工具调用/结果 + 附件 (Tool calls/results + attachments): 命令输出、文件读取、图像/音频等。
上下文与“记忆”不同:记忆可以存储在磁盘上并在稍后重新加载;而上下文是模型当前窗口中的内容。
快速入门 (检查上下文)
/status→ 快速查看“窗口填充率” + 会话设置。/context list→ 注入的内容 + 大致大小(每个文件 + 总计)。/context detail→ 更深入的细分:每个文件、每个工具模式大小、每个技能条目大小以及系统提示词大小。/usage tokens→ 在常规回复后附加每条回复的使用情况页脚。/compact→ 将较旧的历史记录总结为一个紧凑的条目,以释放窗口空间。
另请参阅: [斜杠命令 (/tools/slash-commands)]、[Token 使用与成本 (/reference/token-use)]、[压缩 (/concepts/compaction)]。
示例输出
数值因模型、提供商、工具策略以及工作空间中的内容而异。
/context list
🧠 上下文细分
工作空间: <workspaceDir>
引导最大值/文件: 20,000 字符
沙盒: mode=non-main sandboxed=false
系统提示词 (运行): 38,412 字符 (~9,603 tok) (项目上下文 23,901 字符 (~5,976 tok))
注入的工作空间文件:
- AGENTS.md: OK | 原始 1,742 字符 (~436 tok) | 注入 1,742 字符 (~436 tok)
- SOUL.md: OK | 原始 912 字符 (~228 tok) | 注入 912 字符 (~228 tok)
- TOOLS.md: 已截断 | 原始 54,210 字符 (~13,553 tok) | 注入 20,962 字符 (~5,241 tok)
- IDENTITY.md: OK | 原始 211 字符 (~53 tok) | 注入 211 字符 (~53 tok)
- USER.md: OK | 原始 388 字符 (~97 tok) | 注入 388 字符 (~97 tok)
- HEARTBEAT.md: 缺失 | 原始 0 | 注入 0
- BOOTSTRAP.md: OK | 原始 0 字符 (~0 tok) | 注入 0 字符 (~0 tok)
技能列表 (系统提示词文本): 2,184 字符 (~546 tok) (12 个技能)
工具: read, edit, write, exec, process, browser, message, sessions_send, …
工具列表 (系统提示词文本): 1,032 字符 (~258 tok)
工具模式 (JSON): 31,988 字符 (~7,997 tok) (计入上下文;不以文本显示)
工具: (同上)
会话 Token (缓存): 14,250 总计 / ctx=32,000
/context detail
🧠 上下文细分 (详细)
…
顶级技能 (提示词条目大小):
- frontend-design: 412 字符 (~103 tok)
- oracle: 401 字符 (~101 tok)
… (+10 个更多技能)
顶级工具 (模式大小):
- browser: 9,812 字符 (~2,453 tok)
- exec: 6,240 字符 (~1,560 tok)
… (+N 个更多工具)
计入上下文窗口的内容
模型接收的所有内容都计入,包括:
- 系统提示词(所有分段)。
- 对话历史。
- 工具调用 + 工具结果。
- 附件/记录(图像/音频/文件)。
- 压缩总结和修剪伪影。
- 提供商的“封装器”或隐藏标头(不可见,但仍计入)。
OpenClaw 如何构建系统提示词
系统提示词由 OpenClaw 自主拥有,并在每次运行后重建。它包含:
- 工具列表 + 简短描述。
- 技能列表(仅限元数据;见下文)。
- 工作空间位置。
- 时间(UTC + 配置的转换后的用户时间)。
- 运行时元数据(主机/操作系统/模型/思考)。
- 项目上下文 (Project Context) 下注入的工作空间引导文件。
完整细分: [系统提示词 (/concepts/system-prompt)]。
注入的工作空间文件 (项目上下文)
默认情况下,OpenClaw 注入一组固定的工作空间文件(如果存在):
AGENTS.mdSOUL.mdTOOLS.mdIDENTITY.mdUSER.mdHEARTBEAT.mdBOOTSTRAP.md(仅限首次运行)
大文件使用 agents.defaults.bootstrapMaxChars (默认 20000 字符) 按文件截断。/context 显示原始与注入的大小以及是否发生了截断。
技能:注入与按需加载
系统提示词包含一个紧凑的技能列表(名称 + 描述 + 位置)。此列表有实际的开销。
技能说明默认不包含在内。模型预期仅在需要时 read 技能的 SKILL.md(位于列出的位置:工作空间、受管或捆绑)。如果不符合条件的技能,则省略技能分段。
工具:有两种成本
工具通过两种方式影响上下文:
- 系统提示词中的工具列表文本(您看到的“Tooling”)。
- 工具模式 (Tool schemas) (JSON)。这些被发送给模型,以便它可以调用工具。即使您看不到它们作为纯文本,它们也会计入上下文。
/context detail 会拆分最大的工具模式,以便您查看哪些工具占主导地位。
命令、指令和“内联快捷方式”
斜杠命令由网关处理。有几种不同的行为:
- 独立命令: 仅为
/...的消息作为命令运行。 - 指令:
/think,/verbose,/reasoning,/elevated,/model,/queue在模型看到消息之前被剥离。 - 仅指令消息会持久化会话设置。
-
常规消息中的内联指令作为每条消息的提示。
- 内联快捷方式 (仅限白名单发送者): 常规消息中的某些
/...令牌可以立即运行(例如:“hey /status”),并在模型看到剩余文本之前被剥离。
详情: [斜杠命令 (/tools/slash-commands)]。
会话、压缩和修剪 (什么会持久化)
消息之间的持久化内容取决于机制:
- 常规历史 持久化在会话记录中,直到根据策略进行压缩/修剪。
- 压缩 将总结持久化到记录中,并保持最近的消息完整。
- 修剪 从单次运行的内存中提示词中删除旧的工具结果,但不会重写记录。
文档: [会话 (/concepts/session)]、[压缩 (/concepts/compaction)]、[会话修剪 (/concepts/session-pruning)]。
/context 实际报告的内容
/context 优先使用可用的最新运行构建的系统提示词报告:
System prompt (run)= 从上一次嵌入的(支持工具的)运行中捕获并持久化在会话存储中。System prompt (estimate)= 当没有运行报告存在时(或通过不生成报告的 CLI 后端运行时)即时计算。
无论哪种方式,它都会报告大小和主要贡献者;它不会转储完整的系统提示词或工具模式。
智能体工作空间 (Agent workspace)
工作空间是智能体的家。它是唯一用于文件工具和工作空间上下文的工作目录。请将其保密,并将其视为记忆。
这与存储配置、凭据和会话的 ~/.openclaw/ 是分开的。
重要提示: 工作空间是默认的当前工作目录 (cwd),而不是一个严格的沙盒。工具会根据工作空间解析相对路径,但绝对路径仍然可以触及主机上的其他位置,除非启用了沙盒。如果您需要隔离,请使用 [agents.defaults.sandbox (/gateway/sandboxing)](和/或每个智能体的沙盒配置)。当启用沙盒且 workspaceAccess 不为 "rw" 时,工具在 ~/.openclaw/sandboxes 下的沙盒工作空间中运行,而不是在您的主机工作空间中。
默认位置
- 默认:
~/.openclaw/workspace - 如果设置了
OPENCLAW_PROFILE且不为"default",则默认位置变为~/.openclaw/workspace-<profile>。 - 在
~/.openclaw/openclaw.json中覆盖:
{
agent: {
workspace: "~/.openclaw/workspace",
},
}
openclaw onboard、openclaw configure 或 openclaw setup 将创建工作空间,并在文件缺失时播种引导文件。
如果您已经自己管理工作空间文件,可以禁用引导文件创建:
{ agent: { skipBootstrap: true } }
额外的工作空间文件夹
较旧的安装可能会创建 ~/openclaw。保留多个工作空间目录可能会导致认证或状态漂移的混乱,因为一次只能激活一个工作空间。
建议: 保留一个活跃的工作空间。如果您不再使用额外的文件夹,请归档或将其移至回收站(例如 trash ~/openclaw)。如果您有意保留多个工作空间,请确保 agents.defaults.workspace 指向活跃的那个。
openclaw doctor 在检测到额外的工作空间目录时会发出警告。
工作空间文件映射 (每个文件的含义)
以下是 OpenClaw 预期的工作空间内的标准文件:
AGENTS.md- 智能体的操作说明以及它应该如何使用记忆。
- 在每次会话开始时加载。
-
是存放规则、优先级和“行为方式”细节的好地方。
SOUL.md- 人格、基调和边界。
-
每次会话加载。
USER.md- 用户是谁以及如何称呼他们。
-
每次会话加载。
IDENTITY.md- 智能体的名称、氛围和表情符号。
-
在引导仪式期间创建/更新。
TOOLS.md- 关于您的本地工具和约定的注释。
-
不控制工具的可用性;仅作为指导。
HEARTBEAT.md- 心跳运行的可选小检查清单。
-
请保持简短,以避免 Token 消耗。
BOOT.md- 启用内部钩子时,在网关重启时执行的可选启动检查清单。
-
请保持简短;使用消息工具进行出站发送。
BOOTSTRAP.md- 一次性首次运行仪式。
- 仅为全新的工作空间创建。
-
仪式完成后将其删除。
memory/YYYY-MM-DD.md- 每日记忆日志(每天一个文件)。
-
建议在会话开始时阅读今天 + 昨天。
MEMORY.md(可选)- 精选的长期记忆。
- 仅在主要的主会话中加载(不在共享/群聊上下文中加载)。
工作流和自动记忆刷新参见 [记忆 (/concepts/memory)]。
skills/(可选)- 特定于工作空间的技能。
-
当名称冲突时覆盖受管/捆绑的技能。
canvas/(可选)- 用于节点显示的画布 UI 文件(例如
canvas/index.html)。
如果任何引导文件缺失,OpenClaw 会在会话中注入一个“缺失文件”标记并继续。大的引导文件在注入时会被截断;使用 agents.defaults.bootstrapMaxChars (默认: 20000) 调整限制。openclaw setup 可以重新创建缺失的默认文件,而不会覆盖现有文件。
不在工作空间中的内容
这些存在于 ~/.openclaw/ 下,且不应提交到工作空间仓库:
~/.openclaw/openclaw.json(配置)~/.openclaw/credentials/(OAuth 令牌、API 密钥)~/.openclaw/agents/<agentId>/sessions/(会话记录 + 元数据)~/.openclaw/skills/(受管技能)
如果您需要迁移会话或配置,请单独复制它们,并将它们排除在版本控制之外。
Git 备份 (推荐,私有)
将工作空间视为私有记忆。将其放在一个私有 git 仓库中,以便进行备份和恢复。
在运行网关的机器上执行这些步骤(即工作空间所在的位置)。
1) 初始化仓库
如果安装了 git,全新的工作空间会自动初始化。如果此工作空间尚未成为仓库,请运行:
cd ~/.openclaw/workspace
git init
git add AGENTS.md SOUL.md TOOLS.md IDENTITY.md USER.md HEARTBEAT.md memory/
git commit -m "Add agent workspace"
2) 添加私有远程仓库 (初学者友好选项)
选项 A: GitHub Web UI
- 在 GitHub 上创建一个新的私有仓库。
- 不要使用 README 初始化(避免合并冲突)。
- 复制 HTTPS 远程 URL。
- 添加远程仓库并推送:
git branch -M main
git remote add origin <https-url>
git push -u origin main
选项 B: GitHub CLI (gh)
gh auth login
gh repo create openclaw-workspace --private --source . --remote origin --push
选项 C: GitLab Web UI
- 在 GitLab 上创建一个新的私有仓库。
- 不要使用 README 初始化(避免合并冲突)。
- 复制 HTTPS 远程 URL。
- 添加远程仓库并推送:
git branch -M main
git remote add origin <https-url>
git push -u origin main
3) 持续更新
git status
git add .
git commit -m "Update memory"
git push
不要提交密钥 (Secrets)
即使在私有仓库中,也要避免在工作空间中存储密钥:
- API 密钥、OAuth 令牌、密码或私有凭据。
~/.openclaw/下的任何内容。- 聊天记录或敏感附件的原始转储。
如果您必须存储敏感引用,请使用占位符,并将真实的密钥保存在别处(密码管理器、环境变量或 ~/.openclaw/)。
建议的 .gitignore 起始内容:
.DS_Store
.env
**/*.key
**/*.pem
**/secrets*
将工作空间迁移到新机器
- 将仓库克隆到所需的路径(默认
~/.openclaw/workspace)。 - 在
~/.openclaw/openclaw.json中将agents.defaults.workspace设置为该路径。 - 运行
openclaw setup --workspace <path>来播种任何缺失的文件。 - 如果需要会话,请单独从旧机器复制
~/.openclaw/agents/<agentId>/sessions/。
高级说明
- 多智能体路由可以为每个智能体使用不同的工作空间。路由配置参见 [频道路由 (/channels/channel-routing)]。
- 如果启用了
agents.defaults.sandbox,非主会话可以使用agents.defaults.sandbox.workspaceRoot下的每会话沙盒工作空间。
Pi 集成架构
本文档说明 OpenClaw 如何与 pi-coding-agent 及其关联包(pi-ai、pi-agent-core、pi-tui)集成,以实现其 AI 智能体能力。
概述
OpenClaw 使用 Pi SDK 将 AI 编码智能体嵌入到其消息网关架构中。OpenClaw 并非将 Pi 作为子进程启动或使用 RPC 模式,而是通过 createAgentSession() 直接导入并实例化 Pi 的 AgentSession。这种嵌入式方案具备以下优势:
- 完全控制会话生命周期与事件处理
- 自定义工具注入(消息、沙箱、频道专属操作)
- 按频道/上下文定制系统提示词
- 支持分支与压缩的会话持久化
- 多账号认证配置轮换与故障转移
- 与模型厂商无关的模型切换
包依赖
{
"@mariozechner/pi-agent-core": "0.49.3",
"@mariozechner/pi-ai": "0.49.3",
"@mariozechner/pi-coding-agent": "0.49.3",
"@mariozechner/pi-tui": "0.49.3"
}
| 包名 | 用途 |
|---|---|
pi-ai |
大语言模型核心抽象:Model、streamSimple、消息类型、厂商 API |
pi-agent-core |
智能体循环、工具执行、AgentMessage 类型 |
pi-coding-agent |
上层 SDK:createAgentSession、SessionManager、AuthStorage 等 |
pi-tui |
终端 UI 组件(用于 OpenClaw 本地终端界面模式) |
文件结构
src/agents/
├── pi-embedded-runner.ts # 从 pi-embedded-runner/ 重新导出
├── pi-embedded-runner/
│ ├── run.ts # 主入口:runEmbeddedPiAgent()
│ ├── run/
│ │ ├── attempt.ts # 单次尝试逻辑与会话初始化
│ │ ├── params.ts # RunEmbeddedPiAgentParams 类型
│ │ ├── payloads.ts # 从运行结果构建响应数据
│ │ ├── images.ts # 视觉模型图片注入
│ │ └── types.ts # EmbeddedRunAttemptResult
│ ├── abort.ts # 中止错误检测
│ ├── cache-ttl.ts # 上下文裁剪的缓存有效期跟踪
│ ├── compact.ts # 手动/自动压缩逻辑
│ ├── extensions.ts # 为嵌入式运行加载 Pi 扩展
│ ├── extra-params.ts # 模型厂商专属流参数
│ ├── google.ts # Google/Gemini 轮次顺序修复
│ ├── history.ts # 历史记录限制(私聊 vs 群聊)
│ ├── lanes.ts # 会话/全局命令通道
│ ├── logger.ts # 子系统日志
│ ├── model.ts # 通过 ModelRegistry 解析模型
│ ├── runs.ts # 活跃运行跟踪、中止、队列
│ ├── sandbox-info.ts # 系统提示词所需沙箱信息
│ ├── session-manager-cache.ts # SessionManager 实例缓存
│ ├── session-manager-init.ts # 会话文件初始化
│ ├── system-prompt.ts # 系统提示词构建器
│ ├── tool-split.ts # 拆分内置工具与自定义工具
│ ├── types.ts # EmbeddedPiAgentMeta、EmbeddedPiRunResult
│ └── utils.ts # ThinkLevel 映射、错误描述
├── pi-embedded-subscribe.ts # 会话事件订阅/分发
├── pi-embedded-subscribe.types.ts # SubscribeEmbeddedPiSessionParams
├── pi-embedded-subscribe.handlers.ts # 事件处理工厂
├── pi-embedded-subscribe.handlers.lifecycle.ts
├── pi-embedded-subscribe.handlers.types.ts
├── pi-embedded-block-chunker.ts # 流式回复分块
├── pi-embedded-messaging.ts # 消息工具发送跟踪
├── pi-embedded-helpers.ts # 错误分类、轮次校验
├── pi-embedded-helpers/ # 辅助模块
├── pi-embedded-utils.ts # 格式化工具
├── pi-tools.ts # createOpenClawCodingTools()
├── pi-tools.abort.ts # 工具的中止信号封装
├── pi-tools.policy.ts # 工具白名单/黑名单策略
├── pi-tools.read.ts # 读取工具自定义
├── pi-tools.schema.ts # 工具 schema 标准化
├── pi-tools.types.ts # AnyAgentTool 类型别名
├── pi-tool-definition-adapter.ts # AgentTool → ToolDefinition 适配器
├── pi-settings.ts # 配置覆盖
├── pi-extensions/ # 自定义 Pi 扩展
│ ├── compaction-safeguard.ts # 安全防护扩展
│ ├── compaction-safeguard-runtime.ts
│ ├── context-pruning.ts # 基于缓存有效期的上下文裁剪扩展
│ └── context-pruning/
├── model-auth.ts # 认证配置解析
├── auth-profiles.ts # 配置存储、冷却、故障转移
├── model-selection.ts # 默认模型解析
├── models-config.ts # models.json 生成
├── model-catalog.ts # 模型目录缓存
├── context-window-guard.ts # 上下文窗口校验
├── failover-error.ts # FailoverError 类
├── defaults.ts # 默认模型厂商、默认模型
├── system-prompt.ts # buildAgentSystemPrompt()
├── system-prompt-params.ts # 系统提示词参数解析
├── system-prompt-report.ts # 调试报告生成
├── tool-summaries.ts # 工具描述摘要
├── tool-policy.ts # 工具策略解析
├── transcript-policy.ts # 对话记录校验策略
├── skills.ts # 技能快照/提示词构建
├── skills/ # 技能子系统
├── sandbox.ts # 沙箱上下文解析
├── sandbox/ # 沙箱子系统
├── channel-tools.ts # 频道专属工具注入
├── openclaw-tools.ts # OpenClaw 专属工具
├── bash-tools.ts # 执行/进程工具
├── apply-patch.ts # apply_patch 工具(OpenAI)
├── tools/ # 单个工具实现
│ ├── browser-tool.ts
│ ├── canvas-tool.ts
│ ├── cron-tool.ts
│ ├── discord-actions*.ts
│ ├── gateway-tool.ts
│ ├── image-tool.ts
│ ├── message-tool.ts
│ ├── nodes-tool.ts
│ ├── session*.ts
│ ├── slack-actions.ts
│ ├── telegram-actions.ts
│ ├── web-*.ts
│ └── whatsapp-actions.ts
└── ...
核心集成流程
1. 运行嵌入式智能体
主入口为 pi-embedded-runner/run.ts 中的 runEmbeddedPiAgent():
import { runEmbeddedPiAgent } from "./agents/pi-embedded-runner.js";
const result = await runEmbeddedPiAgent({
sessionId: "user-123",
sessionKey: "main:whatsapp:+1234567890",
sessionFile: "/path/to/session.jsonl",
workspaceDir: "/path/to/workspace",
config: openclawConfig,
prompt: "Hello, how are you?",
provider: "anthropic",
model: "claude-sonnet-4-20250514",
timeoutMs: 120_000,
runId: "run-abc",
onBlockReply: async (payload) => {
await sendToChannel(payload.text, payload.mediaUrls);
},
});
2. 创建会话
在 runEmbeddedAttempt()(由 runEmbeddedPiAgent() 调用)内部使用 Pi SDK:
import {
createAgentSession,
DefaultResourceLoader,
SessionManager,
SettingsManager,
} from "@mariozechner/pi-coding-agent";
const resourceLoader = new DefaultResourceLoader({
cwd: resolvedWorkspace,
agentDir,
settingsManager,
additionalExtensionPaths,
});
await resourceLoader.reload();
const { session } = await createAgentSession({
cwd: resolvedWorkspace,
agentDir,
authStorage: params.authStorage,
modelRegistry: params.modelRegistry,
model: params.model,
thinkingLevel: mapThinkingLevel(params.thinkLevel),
tools: builtInTools,
customTools: allCustomTools,
sessionManager,
settingsManager,
resourceLoader,
});
applySystemPromptOverrideToSession(session, systemPromptOverride);
3. 事件订阅
subscribeEmbeddedPiSession() 订阅 Pi 的 AgentSession 事件:
const subscription = subscribeEmbeddedPiSession({
session: activeSession,
runId: params.runId,
verboseLevel: params.verboseLevel,
reasoningMode: params.reasoningLevel,
toolResultFormat: params.toolResultFormat,
onToolResult: params.onToolResult,
onReasoningStream: params.onReasoningStream,
onBlockReply: params.onBlockReply,
onPartialReply: params.onPartialReply,
onAgentEvent: params.onAgentEvent,
});
处理的事件包括:
message_start/message_end/message_update(文本/思考流)tool_execution_start/tool_execution_update/tool_execution_endturn_start/turn_endagent_start/agent_endauto_compaction_start/auto_compaction_end
4. 发送提示词
初始化完成后向会话发送提示词:
await session.prompt(effectivePrompt, { images: imageResult.images });
SDK 负责完整智能体循环:发送到大模型、执行工具调用、流式返回响应。
工具架构
工具流程
- 基础工具:Pi 的
codingTools(读取、bash、编辑、写入) - 自定义替换:OpenClaw 用
exec/process替换 bash,为沙箱定制读写编辑 - OpenClaw 工具:消息、浏览器、画布、会话、定时任务、网关等
- 频道工具:Discord/Telegram/Slack/WhatsApp 专属操作工具
- 策略过滤:按配置、厂商、智能体、群组、沙箱策略过滤工具
- Schema 标准化:适配 Gemini/OpenAI 特殊格式
- 中止信号封装:工具支持中止信号
工具定义适配器
pi-agent-core 的 AgentTool 与 pi-coding-agent 的 ToolDefinition 的 execute 签名不同。pi-tool-definition-adapter.ts 中的适配器用于桥接:
export function toToolDefinitions(tools: AnyAgentTool[]): ToolDefinition[] {
return tools.map((tool) => ({
name: tool.name,
label: tool.label ?? name,
description: tool.description ?? "",
parameters: tool.parameters,
execute: async (toolCallId, params, onUpdate, _ctx, signal) => {
// pi-coding-agent 与 pi-agent-core 签名不同
return await tool.execute(toolCallId, params, signal, onUpdate);
},
}));
}
工具拆分策略
splitSdkTools() 将所有工具通过 customTools 传入:
export function splitSdkTools(options: { tools: AnyAgentTool[]; sandboxEnabled: boolean }) {
return {
builtInTools: [], // 置空,全部覆盖
customTools: toToolDefinitions(options.tools),
};
}
确保 OpenClaw 的策略过滤、沙箱集成与扩展工具集在各厂商间保持一致。
系统提示词构建
系统提示词在 system-prompt.ts 的 buildAgentSystemPrompt() 中构建。包含:工具、调用风格、安全规则、OpenClaw CLI 参考、技能、文档、工作区、沙箱、消息、回复标记、语音、静默回复、心跳、运行元数据,以及启用的记忆与反应,可选上下文文件与额外提示内容。子智能体使用极简模式时会裁剪部分内容。
提示词在会话创建后通过 applySystemPromptOverrideToSession() 应用:
const systemPromptOverride = createSystemPromptOverride(appendPrompt);
applySystemPromptOverrideToSession(session, systemPromptOverride);
会话管理
会话文件
会话为 JSONL 文件,使用树结构(id/parentId 关联)。Pi 的 SessionManager 负责持久化:
const sessionManager = SessionManager.open(params.sessionFile);
OpenClaw 通过 guardSessionManager() 封装以保证工具结果安全。
会话缓存
session-manager-cache.ts 缓存 SessionManager 实例,避免重复解析文件:
await prewarmSessionFile(params.sessionFile);
sessionManager = SessionManager.open(params.sessionFile);
trackSessionManagerAccess(params.sessionFile);
历史记录限制
limitHistoryTurns() 根据频道类型(私聊/群聊)裁剪对话历史。
压缩
上下文溢出时自动触发压缩。compactEmbeddedPiSessionDirect() 处理手动压缩:
const compactResult = await compactEmbeddedPiSessionDirect({
sessionId, sessionFile, provider, model, ...
});
认证与模型解析
认证配置
OpenClaw 维护认证配置存储,每个厂商支持多个 API 密钥:
const authStore = ensureAuthProfileStore(agentDir, { allowKeychainPrompt: false });
const profileOrder = resolveAuthProfileOrder({ cfg, store: authStore, provider, preferredProfile });
配置失败后轮换并跟踪冷却时间:
await markAuthProfileFailure({ store, profileId, reason, cfg, agentDir });
const rotated = await advanceAuthProfile();
模型解析
import { resolveModel } from "./pi-embedded-runner/model.js";
const { model, error, authStorage, modelRegistry } = resolveModel(
provider,
modelId,
agentDir,
config,
);
// 使用 Pi 的 ModelRegistry 和 AuthStorage
authStorage.setRuntimeApiKey(model.provider, apiKeyInfo.apiKey);
故障转移
FailoverError 在配置后触发模型降级:
if (fallbackConfigured && isFailoverErrorMessage(errorText)) {
throw new FailoverError(errorText, {
reason: promptFailoverReason ?? "unknown",
provider,
model: modelId,
profileId,
status: resolveFailoverStatus(promptFailoverReason),
});
}
Pi 扩展
OpenClaw 加载自定义 Pi 扩展实现特殊行为:
压缩安全防护
pi-extensions/compaction-safeguard.ts 为压缩增加防护,包括自适应令牌预算、工具失败与文件操作摘要:
if (resolveCompactionMode(params.cfg) === "safeguard") {
setCompactionSafeguardRuntime(params.sessionManager, { maxHistoryShare });
paths.push(resolvePiExtensionPath("compaction-safeguard"));
}
上下文裁剪
pi-extensions/context-pruning.ts 实现基于缓存有效期的上下文裁剪:
if (cfg?.agents?.defaults?.contextPruning?.mode === "cache-ttl") {
setContextPruningRuntime(params.sessionManager, {
settings,
contextWindowTokens,
isToolPrunable,
lastCacheTouchAt,
});
paths.push(resolvePiExtensionPath("context-pruning"));
}
流式与分块回复
回复分块
EmbeddedBlockChunker 将流式文本拆分为独立回复块:
const blockChunker = blockChunking ? new EmbeddedBlockChunker(blockChunking) : null;
思考/最终标记剥离
流式输出会处理并剥离 ``/<thinking> 块,提取 <final> 内容:
const stripBlockTags = (text: string, state: { thinking: boolean; final: boolean }) => {
// 剥离 ... 内容
// 若启用强制最终标记,只返回 <final>...</final> 内容
};
回复指令
解析并提取 [[media:url]]、[[voice]]、[[reply:id]] 等指令:
const { text: cleanedText, mediaUrls, audioAsVoice, replyToId } = consumeReplyDirectives(chunk);
错误处理
错误分类
pi-embedded-helpers.ts 对错误分类以便处理:
isContextOverflowError(errorText) // 上下文过大
isCompactionFailureError(errorText) // 压缩失败
isAuthAssistantError(lastAssistant) // 认证失败
isRateLimitAssistantError(...) // 限流
isFailoverAssistantError(...) // 需要故障转移
classifyFailoverReason(errorText) // "auth" | "rate_limit" | "quota" | "timeout" | ...
思考等级降级
不支持的思考等级会自动降级:
const fallbackThinking = pickFallbackThinkingLevel({
message: errorText,
attempted: attemptedThinking,
});
if (fallbackThinking) {
thinkLevel = fallbackThinking;
continue;
}
沙箱集成
启用沙箱模式时,工具与路径会被限制:
const sandbox = await resolveSandboxContext({
config: params.config,
sessionKey: sandboxSessionKey,
workspaceDir: resolvedWorkspace,
});
if (sandboxRoot) {
// 使用沙箱化的读写编辑工具
// 执行在容器中运行
// 浏览器使用桥接 URL
}
厂商专属处理
Anthropic
- 清理拒绝相关魔法字符串
- 连续角色轮次校验
- Claude Code 参数兼容
Google/Gemini
- 轮次顺序修复(
applyGoogleTurnOrderingFix) - 工具 Schema 清理(
sanitizeToolsForGoogle) - 会话历史清理(
sanitizeSessionHistory)
OpenAI
- Codex 模型专用
apply_patch工具 - 思考等级降级处理
终端界面集成
OpenClaw 本地终端模式直接使用 pi-tui 组件:
// src/tui/tui.ts
import { ... } from "@mariozechner/pi-tui";
提供与 Pi 原生模式类似的交互式终端体验。
与 Pi CLI 的主要区别
| 方面 | Pi CLI | OpenClaw 嵌入式版 |
|---|---|---|
| 调用方式 | pi 命令 / RPC |
通过 createAgentSession() 使用 SDK |
| 工具 | 默认编码工具 | 自定义 OpenClaw 工具集 |
| 系统提示词 | AGENTS.md + 提示词文件 | 按频道/上下文动态生成 |
| 会话存储 | ~/.pi/agent/sessions/ |
~/.openclaw/agents/<agentId>/sessions/(或环境变量路径) |
| 认证 | 单凭证 | 多配置轮换 |
| 扩展 | 从磁盘加载 | 编程式 + 磁盘路径 |
| 事件处理 | 终端界面渲染 | 基于回调(onBlockReply 等) |
未来规划
可优化方向:
- 工具签名对齐:当前需适配
pi-agent-core与pi-coding-agent签名 - 会话管理器封装:
guardSessionManager提升安全但增加复杂度 - 扩展加载:可更直接使用 Pi 的
ResourceLoader - 流式处理复杂度:
subscribeEmbeddedPiSession体量较大 - 厂商特殊处理:部分厂商专属逻辑可由 Pi 原生处理
OAuth 授权
OpenClaw 支持通过 OAuth 为提供商进行“订阅授权”(特别是 OpenAI Codex (ChatGPT OAuth))。对于 Anthropic 订阅,请使用 setup-token 流程。本页面说明:
- OAuth 令牌交换 (token exchange) 的工作原理 (PKCE)
- 令牌存储在哪里(以及原因)
- 如何处理多个账号(配置文件 + 每个会话的覆盖)
OpenClaw 还支持发布自己的 OAuth 或 API 密钥流程的提供商插件。通过以下命令运行它们:
openclaw models auth login --provider <id>
令牌库 (Token sink - 存在的原因)
OAuth 提供商通常会在登录/刷新流程中铸造一个新的刷新令牌 (refresh token)。当为同一用户/应用发布新令牌时,某些提供商(或 OAuth 客户端)可能会使旧的刷新令牌失效。
实际症状:
- 您通过 OpenClaw 和 通过 Claude Code / Codex CLI 登录 → 其中一个稍后会随机“被退出登录”。
为了减少这种情况,OpenClaw 将 auth-profiles.json 视为一个令牌库 (token sink):
- 运行时从一个地方读取凭据。
- 我们可以保留多个配置文件并确定性地路由它们。
存储 (令牌存放位置)
秘钥是按智能体存储的:
- 授权配置文件 (OAuth + API 密钥):
~/.openclaw/agents/<agentId>/agent/auth-profiles.json - 运行时缓存 (自动管理;请勿编辑):
~/.openclaw/agents/<agentId>/agent/auth.json
旧版仅导入文件(仍然支持,但不是主要存储):
~/.openclaw/credentials/oauth.json(首次使用时导入到auth-profiles.json)
以上所有内容也尊重 $OPENCLAW_STATE_DIR(状态目录覆盖)。完整参考:/gateway/configuration
Anthropic setup-token (订阅授权)
在任何机器上运行 claude setup-token,然后将其粘贴到 OpenClaw 中:
openclaw models auth setup-token --provider anthropic
如果您在别处生成了令牌,请手动粘贴:
openclaw models auth paste-token --provider anthropic
验证:
openclaw models status
OAuth 交换 (登录工作原理)
OpenClaw 的交互式登录流程是在 @mariozechner/pi-ai 中实现的,并连接到向导/命令中。
Anthropic (Claude Pro/Max) setup-token
流程形状:
- 运行
claude setup-token - 将令牌粘贴到 OpenClaw 中
- 存储为令牌授权配置文件(无刷新)
向导路径为 openclaw onboard → 授权选择 setup-token (Anthropic)。
OpenAI Codex (ChatGPT OAuth)
流程形状 (PKCE):
- 生成 PKCE 验证器/挑战 (verifier/challenge) + 随机
state - 打开
https://auth.openai.com/oauth/authorize?... - 尝试在
http://127.0.0.1:1455/auth/callback上捕获回调 - 如果回调无法绑定(或者您处于远程/无头模式),请粘贴重定向 URL/代码
- 在
https://auth.openai.com/oauth/token处交换 - 从访问令牌中提取
accountId并存储{ access, refresh, expires, accountId }
向导路径为 openclaw onboard → 授权选择 openai-codex。
刷新 + 过期
配置文件存储一个 expires 时间戳。
在运行时:
- 如果
expires是未来的时间 → 使用存储的访问令牌 - 如果已过期 → 刷新(在文件锁下)并覆盖存储的凭据
刷新流程是自动的;您通常不需要手动管理令牌。
多个账号 (配置文件) + 路由
两种模式:
1) 首选:独立的智能体
如果您希望“个人”和“工作”永远不产生交互,请使用隔离的智能体(独立的会话 + 凭据 + 工作空间):
openclaw agents add work
openclaw agents add personal
然后配置每个智能体的授权(向导)并将聊天路由到正确的智能体。
2) 高级:单个智能体中的多个配置文件
auth-profiles.json 支持同一提供商的多个配置文件 ID。
选择使用哪个配置文件:
- 全局通过配置排序 (
auth.order) - 每个会话通过
/model ...@<profileId>
示例(会话覆盖):
/model Opus@anthropic:work
如何查看存在的配置文件 ID:
openclaw channels list --json(显示auth[])
相关文档:
- /concepts/model-failover (轮换 + 冷静规则)
- /tools/slash-commands (命令表面)
智能体引导 (Agent Bootstrapping)
引导 (Bootstrapping) 是首次运行的仪式,用于准备智能体工作空间并收集身份细节。它发生在入职培训之后,即智能体首次启动时。
引导过程的内容
在首次运行智能体时,OpenClaw 会引导工作空间(默认 ~/.openclaw/workspace):
- 播种
AGENTS.md、BOOTSTRAP.md、IDENTITY.md、USER.md。 - 运行一个简短的问答仪式(一次一个问题)。
- 将身份 + 偏好写入
IDENTITY.md、USER.md、SOUL.md。 - 完成后移除
BOOTSTRAP.md,确保它只运行一次。
运行位置
引导始终在网关主机 (gateway host) 上运行。如果 macOS 应用连接到远程网关,工作空间和引导文件将存储在该远程机器上。
相关文档
- macOS 应用入职:[入职培训 (/start/onboarding)]
- 工作空间布局:[智能体工作空间 (/concepts/agent-workspace)]
会话管理 (Session Management)
OpenClaw 将每个智能体一个直接聊天会话视为主要会话。直接聊天会塌陷为 agent:<agentId>:<mainKey>(默认 main),而群组/频道聊天则拥有自己的键。session.mainKey 会被尊重。
使用 session.dmScope 来控制直接消息的分组方式:
main(默认): 所有 DM 共享主要会话以保持连续性。per-peer: 跨频道按发送者 ID 隔离。per-channel-peer: 按频道 + 发送者隔离(推荐用于多用户收件箱)。per-account-channel-peer: 按账号 + 频道 + 发送者隔离(推荐用于多账号收件箱)。 使用session.identityLinks将提供商前缀的对等 ID 映射到规范身份,以便在使用per-peer、per-channel-peer或per-account-channel-peer时,同一个人可以跨频道共享 DM 会话。
安全 DM 模式 (推荐用于多用户设置)
安全警告: 如果您的智能体可以接收来自多个人的 DM,您应该强烈考虑启用安全 DM 模式。如果没有启用,所有用户共享相同的对话上下文,这可能会在用户之间泄漏隐私信息。
默认设置下问题的示例:
- 爱丽丝 (
<SENDER_A>) 就私人话题(例如,医疗预约)向您的智能体发送消息。 - 鲍勃 (
<SENDER_B>) 向您的智能体发送消息询问“我们刚才在聊什么?”。 - 由于两个 DM 共享同一个会话,模型可能会使用爱丽丝之前的上下文来回答鲍勃。
解决方法: 设置 dmScope 以按用户隔离会话:
// ~/.openclaw/openclaw.json
{
session: {
// 安全 DM 模式:按频道 + 发送者隔离 DM 上下文。
dmScope: "per-channel-peer",
},
}
何时启用此功能:
- 您有超过一个发送者的配对批准。
- 您使用包含多个条目的 DM 白名单。
- 您设置了
dmPolicy: "open"。 - 多个电话号码或账号可以向您的智能体发送消息。
注意:
- 为了连续性,默认值为
dmScope: "main"(所有 DM 共享主要会话)。这对于单用户设置是可以的。 - 对于同一频道上的多账号收件箱,优先选择
per-account-channel-peer。 - 如果同一个人在多个频道上联系您,请使用
session.identityLinks将他们的 DM 会话合并为一个规范身份。 - 您可以使用
openclaw security audit验证您的 DM 设置(参见 [安全 (/cli/security)])。
网关是唯一事实来源 (Source of truth)
所有会话状态都由网关所有(“主” OpenClaw)。UI 客户端(macOS 应用、WebChat 等)必须查询网关以获取会话列表和 Token 计数,而不是读取本地文件。
- 在远程模式下,您关心的会话存储存在于远程网关主机上,而不是您的 Mac 上。
- UI 中显示的 Token 计数来自网关的存储字段 (
inputTokens,outputTokens,totalTokens,contextTokens)。客户端不会解析 JSONL 记录来“修正”总数。
状态存放位置
- 在网关主机上:
-
存储文件:
~/.openclaw/agents/<agentId>/sessions/sessions.json(每个智能体)。 - 记录 (Transcripts):
~/.openclaw/agents/<agentId>/sessions/<SessionId>.jsonl(Telegram 主题会话使用.../<SessionId>-topic-<threadId>.jsonl)。 - 存储是一个映射
sessionKey -> { sessionId, updatedAt, ... }。删除条目是安全的;它们会按需重新创建。 - 群组条目可能包含
displayName,channel,subject,room和space,用于在 UI 中标记会话。 - 会话条目包含
origin元数据(标签 + 路由提示),以便 UI 可以解释会话的来源。 - OpenClaw 不读取旧的 Pi/Tau 会话文件夹。
会话修剪 (Pruning)
默认情况下,OpenClaw 会在 LLM 调用前直接从内存上下文的末尾修剪旧的工具结果。这不会重写 JSONL 历史记录。参见 /concepts/session-pruning。
预压缩记忆刷新 (Memory flush)
当会话接近自动压缩时,OpenClaw 可以运行静默记忆刷新轮次,提醒模型将持久化笔记写入磁盘。这仅在工作空间可写时运行。参见 [记忆 (/concepts/memory)] 和 [压缩 (https://www.google.com/search?q=/concepts/compaction)]。
将传输方式映射到会话键 (Transport → session keys)
- 直接聊天遵循
session.dmScope(默认main)。 main:agent:<agentId>:<mainKey>(跨设备/频道的连续性)。-
多个电话号码和频道可以映射到同一个智能体主键;它们充当进入一个对话的传输方式。
per-peer:agent:<agentId>:dm:<peerId>。per-channel-peer:agent:<agentId>:<channel>:dm:<peerId>。per-account-channel-peer:agent:<agentId>:<channel>:<accountId>:dm:<peerId>(accountId默认为default)。-
如果
session.identityLinks匹配带有提供商前缀的对等 ID(例如telegram:123),规范键将替换<peerId>,以便同一个人跨频道共享会话。 - 群组聊天隔离状态:
agent:<agentId>:<channel>:group:<id>(房间/频道使用agent:<agentId>:<channel>:channel:<id>)。 - Telegram 论坛主题在群组 ID 后附加
:topic:<threadId>以进行隔离。 -
旧的
group:<id>键仍然被识别用于迁移。 - 入站上下文仍可能使用
group:<id>;频道从Provider推断出来,并规范化为规范的agent:<agentId>:<channel>:group:<id>形式。 - 其他来源:
- 定时任务:
cron:<job.id> - Webhook:
hook:<uuid>(除非钩子显式设置) - 节点运行:
node-<nodeId>
生命周期 (Lifecycle)
- 重置策略: 会话会被重用,直到过期,并且会在下一条入站消息时评估过期情况。
- 每日重置: 默认为网关主机本地时间凌晨 4:00。如果会话的最后一次更新时间早于最近的每日重置时间,则该会话为陈旧状态。
- 空闲重置 (可选):
idleMinutes添加了一个滑动空闲窗口。当配置了每日和空闲重置时,不论哪个先过期都会强制创建一个新会话。 - 旧版仅空闲重置: 如果您设置了
session.idleMinutes而没有任何session.reset/resetByType配置,OpenClaw 将保持在仅空闲模式以实现向后兼容。 - 按类型覆盖 (可选):
resetByType允许您覆盖direct,group和thread会话的策略(thread = Slack/Discord 线程,Telegram 主题,连接器提供的 Matrix 线程)。 - 按频道覆盖 (可选):
resetByChannel覆盖频道的重置策略(适用于该频道的所有会话类型,并优先于reset/resetByType)。 - 重置触发器: 确切的
/new或/reset(加上resetTriggers中的任何额外内容)会启动一个新的会话 ID 并传入消息的剩余部分。/new <model>接受模型别名、provider/model或提供商名称(模糊匹配)来设置新会话模型。如果仅发送/new或/reset,OpenClaw 会运行一个简短的“你好”问候轮次来确认重置。 - 手动重置: 从存储中删除特定键或移除 JSONL 记录;下一条消息会重新创建它们。
- 隔离的定时任务始终在每次运行时铸造一个全新的
sessionId(不重用空闲会话)。
发送策略 (可选)
屏蔽特定会话类型的投递,无需列出单个 ID。
{
session: {
sendPolicy: {
rules: [
{ action: "deny", match: { channel: "discord", chatType: "group" } },
{ action: "deny", match: { keyPrefix: "cron:" } },
],
default: "allow",
},
},
}
运行时覆盖(仅限所有者):
/send on→ 允许此会话/send off→ 禁止此会话/send inherit→ 清除覆盖并使用配置规则 将这些作为独立消息发送以进行注册。
配置 (可选重命名示例)
// ~/.openclaw/openclaw.json
{
session: {
scope: "per-sender", // 保持群组键分开
dmScope: "main", // DM 连续性 (为共享收件箱设置 per-channel-peer/per-account-channel-peer)
identityLinks: {
alice: ["telegram:123456789", "discord:987654321012345678"],
},
reset: {
// 默认值: mode=daily, atHour=4 (网关主机本地时间)。
// 如果您还设置了 idleMinutes,不论哪个先过期都获胜。
mode: "daily",
atHour: 4,
idleMinutes: 120,
},
resetByType: {
thread: { mode: "daily", atHour: 4 },
direct: { mode: "idle", idleMinutes: 240 },
group: { mode: "idle", idleMinutes: 120 },
},
resetByChannel: {
discord: { mode: "idle", idleMinutes: 10080 },
},
resetTriggers: ["/new", "/reset"],
store: "~/.openclaw/agents/{agentId}/sessions/sessions.json",
mainKey: "main",
},
}
检查 (Inspecting)
openclaw status— 显示存储路径和最近的会话。openclaw sessions --json— 转储每个条目(使用--active <minutes>过滤)。openclaw gateway call sessions.list --params '{}'— 从运行中的网关获取会话(对远程网关访问使用--url/--token)。- 在聊天中发送
/status作为独立消息,以查看智能体是否可达、使用了多少会话上下文、当前的思考/详尽切换状态,以及您的 WhatsApp Web 凭据最后一次刷新的时间(有助于发现是否需要重新连接)。 - 发送
/context list或/context detail以查看系统提示词和注入的工作空间文件中有哪些内容(以及最大的上下文贡献者)。 - 发送
/stop作为独立消息以中止当前运行,清除该会话排队的跟进消息,并停止从中产生的任何子智能体运行(回复包含已停止的数量)。 - 发送
/compact(可选说明) 作为独立消息以总结较旧的上下文并释放窗口空间。参见 /concepts/compaction。 - JSONL 记录可以直接打开以查看完整轮次。
技巧
- 将主键专门用于 1:1 流量;让群组保持自己的键。
- 当自动化清理时,删除单个键而不是整个存储,以保留其他地方的上下文。
会话来源元数据 (Origin metadata)
每个会话条目在 origin 中记录了它的来源(尽最大努力):
label: 人类可读标签(从对话标签 + 群组主题/频道解析而来)provider: 规范化的频道 ID(包括扩展)from/to: 入站信封中的原始路由 IDaccountId: 提供商账号 ID(多账号时)threadId: 频道支持时的线程/主题 ID 原点字段已填充用于直接消息、频道和群组。如果连接器仅更新投递路由(例如,为了保持 DM 主要会话新鲜),它仍应提供入站上下文,以便会话保留其解释性元数据。扩展可以通过在入站上下文中发送ConversationLabel,GroupSubject,GroupChannel,GroupSpace和SenderName并调用recordSessionMetaFromInbound(或将相同的上下文传递给updateLastRoute)来实现这一点。
会话修剪 (Session Pruning)
会话修剪会在每次 LLM 调用前直接从内存上下文的末尾修剪旧的工具结果。它不会重写磁盘上的会话历史记录 (*.jsonl)。
运行时间
- 当启用了
mode: "cache-ttl"且会话的最后一次 Anthropic 调用早于ttl时。 - 仅影响发送给模型用于该请求的消息。
- 仅对 Anthropic API 调用(以及 OpenRouter 的 Anthropic 模型)处于活跃状态。
- 为了获得最佳结果,请将
ttl与模型的cacheControlTtl相匹配。 - 修剪后,TTL 窗口会重置,以便随后的请求保持缓存,直到
ttl再次过期。
智能默认值 (Anthropic)
- OAuth 或 setup-token 配置文件:启用
cache-ttl修剪并将心跳设置为1h。 - API 密钥 配置文件:启用
cache-ttl修剪,将心跳设置为30m,并将 Anthropic 模型上的cacheControlTtl默认为1h。 - 如果您显式设置了任何这些值,OpenClaw 不会覆盖它们。
此功能改进的内容 (成本 + 缓存行为)
- 为什么要修剪: Anthropic 提示词缓存仅在 TTL 内适用。如果会话在 TTL 后变为空闲,下一个请求将重新缓存完整的提示词,除非您先对其进行修剪。
- 什么变便宜了: 修剪可减少 TTL 过期后第一个请求的 cacheWrite 大小。
- 为什么 TTL 重置很重要: 一旦修剪运行,缓存窗口就会重置,因此后续请求可以重用新缓存的提示词,而不是再次重新缓存完整的历史记录。
- 什么不会发生: 修剪不会增加 Token 或产生“双倍”成本;它只会改变在 TTL 后第一个请求中缓存的内容。
可以被修剪的内容
- 仅
toolResult消息。 - 用户 + 助手消息绝不会被修改。
- 最后
keepLastAssistants条助手消息受到保护;该截断点之后的工具结果不会被修剪。 - 如果没有足够的助手消息来确定截断点,则跳过修剪。
- 包含图像块的工具结果将被跳过(绝不截断/清除)。
上下文窗口估算
修剪使用估算的上下文窗口(字符数 ≈ Token 数 × 4)。基础窗口按此顺序解析:
models.providers.*.models[].contextWindow覆盖。- 模型定义
contextWindow(来自模型注册表)。 - 默认
200000个 Token。
如果设置了 agents.defaults.contextTokens,它被视为解析窗口的上限(最小值)。
模式
cache-ttl
- 修剪仅在最后一次 Anthropic 调用早于
ttl(默认5m) 时运行。 - 运行时:与之前的软截断 + 硬清除行为相同。
软修剪与硬清除
- 软截断 (Soft-trim): 仅适用于过大的工具结果。
- 保留头部 + 尾部,插入
...,并附加一条关于原始大小的说明。 -
跳过带有图像块的结果。
- 硬清除 (Hard-clear): 用
hardClear.placeholder替换整个工具结果。
工具选择
tools.allow/tools.deny支持*通配符。- 拒绝优先。
- 匹配不区分大小写。
- 允许列表为空 => 允许所有工具。
与其他限制的交互
- 内置工具已经截断了自己的输出;会话修剪是一个额外的层,可防止长时间运行的聊天在模型上下文中积累过多的工具输出。
- 压缩是独立的:压缩进行总结和持久化,修剪是单次请求的瞬时行为。参见 /concepts/compaction。
默认值 (启用时)
ttl:"5m"keepLastAssistants:3softTrimRatio:0.3hardClearRatio:0.5minPrunableToolChars:50000softTrim:{ maxChars: 4000, headChars: 1500, tailChars: 1500 }hardClear:{ enabled: true, placeholder: "[Old tool result content cleared]" }
示例
默认(关闭):
{
agent: {
contextPruning: { mode: "off" },
},
}
启用感知 TTL 的修剪:
{
agent: {
contextPruning: { mode: "cache-ttl", ttl: "5m" },
},
}
将修剪限制为特定工具:
{
agent: {
contextPruning: {
mode: "cache-ttl",
tools: { allow: ["exec", "read"], deny: ["*image*"] },
},
},
}
参见配置参考:[网关配置 (/gateway/configuration)]
会话工具 (Session Tools)
目标:一套体积小、不易误用的工具集,以便智能体可以列出会话、获取历史记录以及发送消息到另一个会话。
工具名称
sessions_listsessions_historysessions_sendsessions_spawn
关键模型 (Key Model)
- 主要的直接聊天桶 (Bucket) 始终是字面量键
"main"(解析为当前智能体的主要键)。 - 群组聊天使用
agent:<agentId>:<channel>:group:<id>或agent:<agentId>:<channel>:channel:<id>(传递完整的键)。 - 定时任务 (Cron jobs) 使用
cron:<job.id>。 - 钩子 (Hooks) 使用
hook:<uuid>(除非显式设置)。 - 节点会话 (Node sessions) 使用
node-<nodeId>(除非显式设置)。
global 和 unknown 是保留值,永远不会被列出。如果 session.scope = "global",我们会将所有工具的键别名为 main,以便调用者永远不会看到 global。
sessions_list
以行数组的形式列出会话。
参数:
kinds?: string[]过滤器:"main" | "group" | "cron" | "hook" | "node" | "other"中的任意一个。limit?: number最大行数 (默认值:服务器默认值,限制例如 200)。activeMinutes?: number仅限在 N 分钟内更新过的会话。messageLimit?: number0 = 无消息 (默认 0); >0 = 包含最后 N 条消息。
行为:
messageLimit > 0会按会话获取chat.history并包含最后 N 条消息。- 工具结果在列表输出中被过滤掉;获取工具消息请使用
sessions_history。 - 在沙盒 (sandboxed) 智能体会话中运行时,会话工具默认为仅可见已生成会话 (spawned-only visibility) (见下文)。
行形状 (JSON):
key: 会话键 (string)kind:main | group | cron | hook | node | otherchannel:whatsapp | telegram | discord | signal | imessage | webchat | internal | unknowndisplayName(如果有群组显示标签)updatedAt(ms)sessionIdmodel,contextTokens,totalTokensthinkingLevel,verboseLevel,systemSent,abortedLastRunsendPolicy(如果设置了会话覆盖)lastChannel,lastTodeliveryContext(可用时规范化的{ channel, to, accountId })transcriptPath(从存储目录 + sessionId 派生的尽力而为路径)messages?(仅在messageLimit > 0时)
sessions_history
获取一个会话的记录。
参数:
sessionKey(必填;接受来自sessions_list的会话键或sessionId)limit?: number最大消息数 (服务器限制)includeTools?: boolean(默认 false)
行为:
includeTools=false过滤掉role: "toolResult"消息。- 以原始记录格式返回消息数组。
- 当给定
sessionId时,OpenClaw 将其解析为相应的会话键 (缺失 ID 会报错)。
sessions_send
向另一个会话发送消息。
参数:
sessionKey(必填;接受来自sessions_list的会话键或sessionId)message(必填)timeoutSeconds?: number(默认 >0; 0 = 发后即忘)
行为:
timeoutSeconds = 0: 入队并立即返回{ runId, status: "accepted" }。timeoutSeconds > 0: 等待最多 N 秒以完成运行,然后返回{ runId, status: "ok", reply }。- 如果等待超时:
{ runId, status: "timeout", error }。运行继续进行;稍后调用sessions_history。 - 如果运行失败:
{ runId, status: "error", error }。 - 公告送达运行在主运行完成后进行,且为尽力而为;
status: "ok"不保证公告已送达。 - 通过网关
agent.wait(服务端) 等待,以便重新连接不会丢弃等待。 - 智能体到智能体的消息上下文会被注入到主运行中。
- 主运行完成后,OpenClaw 运行回显循环 (reply-back loop):
- 第 2 轮及以后在请求者和目标智能体之间交替。
- 回复确切的
REPLY_SKIP以停止乒乓对话。 -
最大轮次为
session.agentToAgent.maxPingPongTurns(0–5,默认 5)。 - 循环结束后,OpenClaw 运行智能体到智能体公告步骤 (agent‑to‑agent announce step) (仅目标智能体):
- 回复确切的
ANNOUNCE_SKIP以保持沉默。 - 任何其他回复都会发送到目标频道。
- 公告步骤包含原始请求 + 第 1 轮回复 + 最近的乒乓回复。
频道字段 (Channel Field)
- 对于群组,
channel是会话条目上记录的频道。 - 对于直接聊天,
channel从lastChannel映射。 - 对于定时任务/钩子/节点,
channel为internal。 - 如果缺失,
channel为unknown。
安全 / 发送策略 (Security / Send Policy)
基于频道/聊天类型的基于策略的封锁(不是按会话 ID)。
{
"session": {
"sendPolicy": {
"rules": [
{
"match": { "channel": "discord", "chatType": "group" },
"action": "deny"
}
],
"default": "allow"
}
}
}
运行时覆盖(按会话条目):
sendPolicy: "allow" | "deny"(未设置 = 继承配置)- 可通过
sessions.patch或仅限所有者的/send on|off|inherit(独立消息) 设置。
强制执行点:
chat.send/agent(网关)- 自动回复投递逻辑
sessions_spawn
在隔离的会话中生成子智能体运行,并将结果公告回请求者的聊天频道。
参数:
task(必填)label?(可选;用于日志/UI)agentId?(可选;如果允许,则在另一个智能体 ID 下生成)model?(可选;覆盖子智能体模型;无效值会报错)runTimeoutSeconds?(默认 0;设置后,会在 N 秒后中止子智能体运行)cleanup?(delete|keep,默认keep)
允许列表 (Allowlist):
agents.list[].subagents.allowAgents: 允许通过agentId使用的智能体 ID 列表 (["*"]允许任何)。默认值:仅限请求者智能体。
发现:
- 使用
agents_list发现允许用于sessions_spawn的智能体 ID。
行为:
- 启动一个带有
deliver: false的新agent:<agentId>:subagent:<uuid>会话。 - 子智能体默认使用完整工具集减去会话工具 (可通过
tools.subagents.tools配置)。 - 子智能体不允许调用
sessions_spawn(不允许子智能体 → 生成子智能体)。 - 始终非阻塞:立即返回
{ status: "accepted", runId, childSessionKey }。 - 完成后,OpenClaw 运行子智能体公告步骤并将结果发布到请求者的聊天频道。
- 在公告步骤期间回复确切的
ANNOUNCE_SKIP以保持沉默。 - 公告回复被规范化为
Status/Result/Notes;Status来自运行时结果(而不是模型文本)。 - 子智能体会话在
agents.defaults.subagents.archiveAfterMinutes(默认值:60) 后自动归档。 - 公告回复包含一行统计数据(运行时、Token、sessionKey/sessionId、记录路径和可选成本)。
沙盒会话可见性 (Sandbox Session Visibility)
沙盒会话可以使用会话工具,但默认情况下它们仅能看到通过 sessions_spawn 生成的会话。
配置:
{
agents: {
defaults: {
sandbox: {
// 默认值: "spawned"
sessionToolsVisibility: "spawned", // 或 "all"
},
},
},
}
记忆 (Memory)
OpenClaw 的记忆是智能体工作空间中的纯 Markdown 文件。这些文件是唯一事实来源 (Source of truth);模型只“记得”写入磁盘的内容。
记忆搜索工具由活跃的记忆插件提供(默认:memory-core)。使用 plugins.slots.memory = "none" 禁用记忆插件。
记忆文件 (Markdown)
默认工作空间布局使用两个记忆层:
memory/YYYY-MM-DD.md- 每日日志(仅追加)。
-
会话开始时读取今天 + 昨天。
MEMORY.md(可选)- 精选的长期记忆。
- 仅在主、私有会话中加载(绝不在群组上下文中加载)。
这些文件存放在工作空间下 (agents.defaults.workspace,默认 ~/.openclaw/workspace)。完整布局参见 [智能体工作空间 (/concepts/agent-workspace)]。
何时写入记忆
- 决定、偏好和持久事实存入
MEMORY.md。 - 日常笔记和运行上下文存入
memory/YYYY-MM-DD.md。 - 如果有人说“记住这个”,请写下来(不要留在内存中)。
- 此区域仍在不断发展。提醒模型存储记忆会有所帮助;它会知道该怎么做。
- 如果您希望某些内容留存,请要求机器人将其写入记忆中。
自动记忆刷新 (压缩前探测)
当会话接近自动压缩时,OpenClaw 会触发一个静默、智能体轮次 (silent, agentic turn),提醒模型在上下文被压缩前将持久化记忆写入磁盘。默认提示词明确表示模型可能会回复,但通常 NO_REPLY 是正确的响应,因此用户永远不会看到此轮次。
这由 agents.defaults.compaction.memoryFlush 控制:
{
agents: {
defaults: {
compaction: {
reserveTokensFloor: 20000,
memoryFlush: {
enabled: true,
softThresholdTokens: 4000,
systemPrompt: "Session nearing compaction. Store durable memories now.",
prompt: "Write any lasting notes to memory/YYYY-MM-DD.md; reply with NO_REPLY if nothing to store.",
},
},
},
},
}
详情:
- 软阈值 (Soft threshold): 当会话 Token 估算值跨越
contextWindow - reserveTokensFloor - softThresholdTokens时触发刷新。 - 默认静默: 提示词包含
NO_REPLY,因此不会传递任何内容。 - 两个提示词: 一个用户提示词加上一个系统提示词附加该提醒。
- 每个压缩周期一次刷新 (在
sessions.json中跟踪)。 - 工作空间必须可写: 如果会话以
workspaceAccess: "ro"或"none"在沙盒中运行,则跳过刷新。
有关完整的压缩生命周期,请参见 [会话管理 + 压缩 (/reference/session-management-compaction)]。
向量记忆搜索
OpenClaw 可以在 MEMORY.md 和 memory/*.md 上构建一个小型向量索引,这样即使措辞不同,语义查询也可以找到相关的笔记。
默认设置:
- 默认启用。
- 监视记忆文件以获取更改(防抖)。
- 在
agents.defaults.memorySearch下配置记忆搜索(而不是顶层memorySearch)。 - 默认使用远程嵌入。如果未设置
memorySearch.provider,OpenClaw 会自动选择:local(如果配置了memorySearch.local.modelPath且文件存在)。openai(如果可以解析 OpenAI 密钥)。gemini(如果可以解析 Gemini 密钥)。voyage(如果可以解析 Voyage 密钥)。- 否则记忆搜索将保持禁用状态,直到配置。
- 本地模式使用 node-llama-cpp,可能需要
pnpm approve-builds。 - 使用 sqlite-vec(可用时)加速 SQLite 内部的向量搜索。
远程嵌入需要嵌入提供商的 API 密钥。OpenClaw 从授权配置文件、models.providers.*.apiKey 或环境变量中解析密钥。Codex OAuth 仅涵盖聊天/补全,不满足记忆搜索的嵌入需求。对于 Gemini,请使用 GEMINI_API_KEY 或 models.providers.google.apiKey。对于 Voyage,请使用 VOYAGE_API_KEY 或 models.providers.voyage.apiKey。使用自定义 OpenAI 兼容终结点时,设置 memorySearch.remote.apiKey(和可选的 memorySearch.remote.headers)。
QMD 后端 (实验性)
设置 memory.backend = "qmd" 将内置的 SQLite 索引器交换为 QMD:一个本地优先的搜索侧边栏,结合了 BM25 + 向量 + 重排序。Markdown 仍然是事实来源;OpenClaw 调用 QMD 进行检索。关键点:
前置条件
- 默认禁用。按配置启用 (
memory.backend = "qmd")。 - 单独安装 QMD CLI (
bun install -g https://github.com/tobi/qmd或获取版本) 并确保qmd二进制文件在网关的PATH中。 - QMD 需要一个允许扩展的 SQLite 构建 (macOS 上
brew install sqlite)。 - QMD 通过 Bun +
node-llama-cpp完全在本地运行,并首次使用时自动从 HuggingFace 下载 GGUF 模型(不需要单独的 Ollama 守护进程)。 - 网关通过设置
XDG_CONFIG_HOME和XDG_CACHE_HOME在~/.openclaw/agents/<agentId>/qmd/下的独立 XDG 主目录中运行 QMD。 - OS 支持:安装 Bun + SQLite 后,macOS 和 Linux 可直接工作。Windows 最好通过 WSL2 支持。
侧边栏如何运行
- 网关在
~/.openclaw/agents/<agentId>/qmd/下写入一个独立的 QMD 主目录 (配置 + 缓存 + sqlite DB)。 - 集合通过
memory.qmd.paths(plus default workspace memory files) 中的qmd collection add创建,然后在启动时以及按可配置间隔 (memory.qmd.update.interval,默认 5m) 运行qmd update+qmd embed。 - 网关现在在启动时初始化 QMD 管理器,因此即使在第一次
memory_search调用之前也会武装定期更新计时器。 - 启动刷新现在默认在后台运行,因此聊天启动不会被阻塞;设置
memory.qmd.update.waitForBootSync = true以保留之前的阻塞行为。 - 搜索通过
qmd query --json运行,范围限定为 OpenClaw 管理的集合。如果 QMD 失败或二进制文件缺失,OpenClaw 会自动回退到内置的 SQLite 管理器,因此记忆工具可继续工作。 - OpenClaw 目前不公开 QMD 嵌入批处理大小调整;批处理行为由 QMD 本身控制。
- 第一次搜索可能较慢:QMD 可能在第一次
qmd query运行时下载本地 GGUF 模型 (重排序器/查询扩展)。 - OpenClaw 运行 QMD 时会自动设置
XDG_CONFIG_HOME/XDG_CACHE_HOME。 - 如果您想手动预下载模型 (并预热 OpenClaw 使用的相同索引),请使用智能体的 XDG 目录运行一次性查询。
OpenClaw 的 QMD 状态存放在您的状态目录下 (默认为
~/.openclaw)。您可以通过导出 OpenClaw 使用的相同 XDG 变量将qmd指向完全相同的索引: ```bash选择 OpenClaw 使用的相同状态目录
STATE_DIR=”${OPENCLAW_STATE_DIR:-$HOME/.openclaw}” if [ -d “$HOME/.moltbot” ] && [ ! -d “$HOME/.openclaw” ]
&& [ -z “${OPENCLAW_STATE_DIR:-}” ]; then STATE_DIR=”$HOME/.moltbot” fi
export XDG_CONFIG_HOME=”$STATE_DIR/agents/main/qmd/xdg-config” export XDG_CACHE_HOME=”$STATE_DIR/agents/main/qmd/xdg-cache”
(可选) 强制刷新索引 + 嵌入
qmd update qmd embed
预热 / 触发首次模型下载
qmd query “test” -c memory-root –json >/dev/null 2>&1
**配置表面 (`memory.qmd.*`)**
* `command` (默认 `qmd`): 覆盖可执行文件路径。
* `includeDefaultMemory` (默认 `true`): 自动索引 `MEMORY.md` + `memory/**/*.md`。
* `paths[]`: 添加额外的目录/文件 (`path`,可选 `pattern`,可选稳定的 `name`)。
* `sessions`: 选择加入会话 JSONL 索引 (`enabled`, `retentionDays`, `exportDir`)。
* `update`: 控制刷新节奏和维护执行:(`interval`, `debounceMs`, `onBoot`, `waitForBootSync`, `embedInterval`, `commandTimeoutMs`, `updateTimeoutMs`, `embedTimeoutMs`)。
* `limits`: 限制召回有效载荷 (`maxResults`, `maxSnippetChars`, `maxInjectedChars`, `timeoutMs`)。
* `scope`: 与 [`session.sendPolicy` (/gateway/configuration#session)] 相同的模式。默认为仅 DM (`deny` 全部,`allow` 直接聊天);将其放宽以在群组/频道中展示 QMD 命中。
* 当 `scope` 拒绝搜索时,OpenClaw 会记录带有派生 `channel`/`chatType` 的警告,因此空结果更容易调试。
* 工作空间外部的片段在 `memory_search` 结果中显示为 `qmd/<collection>/<relative-path>`;`memory_get` 理解该前缀并从配置的 QMD 集合根目录读取。
* 当 `memory.qmd.sessions.enabled = true` 时,OpenClaw 会将经过清理的会话记录 (用户/助手轮次) 导出到 `~/.openclaw/agents/<id>/qmd/sessions/` 下的专用 QMD 集合中,因此 `memory_search` 可以召回最近的对话,而无需触碰内置的 SQLite 索引。
* 当 `memory.citations` 为 `auto`/`on` 时,`memory_search` 片段现在包含一个 `Source: <path#line>` 页脚;设置 `memory.citations = "off"` 以保持路径元数据在内部 (智能体仍然会收到用于 `memory_get` 的路径,但片段文本会省略页脚,并且系统提示词会警告智能体不要引用它)。
**示例**
```json5
memory: {
backend: "qmd",
citations: "auto",
qmd: {
includeDefaultMemory: true,
update: { interval: "5m", debounceMs: 15000 },
limits: { maxResults: 6, timeoutMs: 4000 },
scope: {
default: "deny",
rules: [{ action: "allow", match: { chatType: "direct" } }]
},
paths: [
{ name: "docs", path: "~/notes", pattern: "**/*.md" }
]
}
}
引用与回退 (Citations & fallback)
memory.citations适用,无论后端如何 (auto/on/off)。- 当
qmd运行时,我们会标记status().backend = "qmd",以便诊断显示哪个引擎提供了结果。如果 QMD 子进程退出或 JSON 输出无法解析,搜索管理器会记录警告并返回内置提供商 (现有的 Markdown 嵌入),直到 QMD 恢复。
额外的记忆路径
如果您想索引默认工作空间布局之外的 Markdown 文件,请添加显式路径:
agents: {
defaults: {
memorySearch: {
extraPaths: ["../team-docs", "/srv/shared-notes/overview.md"]
}
}
}
注意:
- 路径可以是绝对路径,也可以是工作空间相对路径。
- 目录会递归扫描
.md文件。 - 仅索引 Markdown 文件。
- 忽略符号链接 (文件或目录)。
Gemini 嵌入 (原生)
将提供商设置为 gemini 以直接使用 Gemini 嵌入 API:
agents: {
defaults: {
memorySearch: {
provider: "gemini",
model: "gemini-embedding-001",
remote: {
apiKey: "YOUR_GEMINI_API_KEY"
}
}
}
}
注意:
remote.baseUrl是可选的 (默认为 Gemini API 基础 URL)。remote.headers允许您在需要时添加额外的标头。- 默认模型:
gemini-embedding-001。
如果您想使用自定义 OpenAI 兼容终结点 (OpenRouter, vLLM, 或代理),您可以将 OpenAI 提供商与 remote 配置一起使用:
agents: {
defaults: {
memorySearch: {
provider: "openai",
model: "text-embedding-3-small",
remote: {
baseUrl: "https://api.example.com/v1/",
apiKey: "YOUR_OPENAI_COMPAT_API_KEY",
headers: { "X-Custom-Header": "value" }
}
}
}
}
如果您不想设置 API 密钥,请使用 memorySearch.provider = "local" 或设置 memorySearch.fallback = "none"。
回退:
memorySearch.fallback可以是openai,gemini,local, 或none。- 回退提供商仅在主嵌入提供商失败时使用。
批处理索引 (OpenAI + Gemini + Voyage):
- 默认禁用。设置
agents.defaults.memorySearch.remote.batch.enabled = true以启用大型语料库索引 (OpenAI, Gemini, 和 Voyage)。 - 默认行为等待批处理完成;根据需要调整
remote.batch.wait,remote.batch.pollIntervalMs, 和remote.batch.timeoutMinutes。 - 设置
remote.batch.concurrency以控制我们并行提交多少批处理作业 (默认: 2)。 - 批处理模式适用当
memorySearch.provider = "openai"或"gemini"时,并使用相应的 API 密钥。 - Gemini 批处理作业使用异步嵌入批处理终结点,并且需要 Gemini Batch API 可用。
为什么 OpenAI 批处理速度快 + 成本低:
- 对于大型补录,OpenAI 通常是我们支持的速度最快的选项,因为我们可以通过单个批处理作业提交许多嵌入请求,并让 OpenAI 异步处理它们。
- OpenAI 为 Batch API 工作负载提供折扣定价,因此大型索引运行通常比同步发送相同的请求更便宜。
- 详情请参阅 OpenAI Batch API 文档和定价:
- https://platform.openai.com/docs/api-reference/batch
- https://platform.openai.com/pricing
配置示例:
agents: {
defaults: {
memorySearch: {
provider: "openai",
model: "text-embedding-3-small",
fallback: "openai",
remote: {
batch: { enabled: true, concurrency: 2 }
},
sync: { watch: true }
}
}
}
工具:
memory_search— 返回带有文件 + 行范围的片段。memory_get— 按路径读取记忆文件内容。
本地模式:
- 设置
agents.defaults.memorySearch.provider = "local"。 - 提供
agents.defaults.memorySearch.local.modelPath(GGUF 或hf:URI)。 - 可选:设置
agents.defaults.memorySearch.fallback = "none"以避免远程回退。
记忆工具的工作原理
memory_search语义化搜索来自MEMORY.md+memory/**/*.md的 Markdown 块 (~400 Token 目标,80 Token 重叠)。它返回片段文本 (限制 ~700 字符)、文件路径、行范围、得分、提供商/模型,以及我们是否从本地回退到远程嵌入。不返回完整的文件有效载荷。memory_get读取特定的记忆 Markdown 文件 (工作空间相对路径),可选择从起始行开始并读取 N 行。拒绝MEMORY.md/memory/之外的路径。- 只有当
memorySearch.enabled解析为智能体的 true 时,这两个工具才启用。
索引内容 (及其时间)
- 文件类型:仅 Markdown (
MEMORY.md,memory/**/*.md)。 - 索引存储:每个智能体 SQLite 存放在
~/.openclaw/memory/<agentId>.sqlite(可通过agents.defaults.memorySearch.store.path配置,支持{agentId}令牌)。 - 新鲜度:
MEMORY.md+memory/上的观察者将索引标记为脏 (防抖 1.5s)。同步安排在会话开始时、搜索时或按间隔进行,并异步运行。会话记录使用增量阈值触发后台同步。 - 重新索引触发器:索引存储嵌入提供商/模型 + 终结点指纹 + 分块参数。如果其中任何一个发生更改,OpenClaw 会自动重置并重新索引整个存储。
混合搜索 (BM25 + 向量)
启用后,OpenClaw 结合了:
- 向量相似度 (语义匹配,措辞可以不同)
- BM25 关键词相关性 (确切的 Token,如 ID、环境变量、代码符号)
如果您的平台上不可用全文搜索,OpenClaw 将回退到仅向量搜索。
为什么选择混合搜索?
向量搜索擅长“这意味着相同的事情”:
- “Mac Studio gateway host” vs “the machine running the gateway”
- “debounce file updates” vs “avoid indexing on every write”
但它可能在确切的、高信号的 Token 上较弱:
- ID (
a828e60,b3b9895a…) - 代码符号 (
memorySearch.query.hybrid) - 错误字符串 (“sqlite-vec unavailable”)
BM25 (全文) 则相反:擅长确切的 Token,在释义上较弱。 混合搜索是务实的折中方案:使用两种检索信号,以便在“自然语言”查询和“沙里淘针”查询中都获得良好的结果。
我们如何合并结果 (当前设计)
实现概要:
- 从双方检索候选池:
- 向量:按余弦相似度排名前
maxResults * candidateMultiplier的候选者。 - BM25:按 FTS5 BM25 等级排名前
maxResults * candidateMultiplier的候选者 (越低越好)。
- 将 BM25 等级转换为 0..1 左右的得分:
textScore = 1 / (1 + max(0, bm25Rank))
- 按块 ID 合并候选者并计算加权得分:
finalScore = vectorWeight * vectorScore + textWeight * textScore
注意:
vectorWeight+textWeight在配置解析中归一化为 1.0,因此权重表现为百分比。- 如果嵌入不可用 (或提供商返回零向量),我们仍然运行 BM25 并返回关键词匹配。
- 如果无法创建 FTS5,我们保留仅向量搜索 (无硬故障)。
这不是“IR 理论完美”,但它简单、快速,并且倾向于提高真实笔记的召回率/准确率。如果我们以后想更复杂一些,常见的下一步是倒数排名融合 (RRF) 或混合前的得分归一化 (min/max 或 z-score)。
配置:
agents: {
defaults: {
memorySearch: {
query: {
hybrid: {
enabled: true,
vectorWeight: 0.7,
textWeight: 0.3,
candidateMultiplier: 4
}
}
}
}
}
嵌入缓存
OpenClaw 可以将分块嵌入缓存到 SQLite 中,以便重新索引和频繁更新 (特别是会话记录) 不会重新嵌入未更改的文本。
配置:
```json5
agents: {
defaults: {
memorySearch: {
cache: {
enabled: true,
maxEntries: 50000
}
}
}
}
会话记忆搜索 (实验性)
您可以选择索引会话记录并通过 memory_search 展示它们。这受到实验性标志的限制。
agents: {
defaults: {
memorySearch: {
experimental: { sessionMemory: true },
sources: ["memory", "sessions"]
}
}
}
注意:
- 会话索引是选择加入的 (默认关闭)。
- 会话更新经过防抖处理,并在跨越增量阈值时异步索引 (尽力而为)。
memory_search从不阻塞索引;在后台同步完成之前,结果可能略显陈旧。- 结果仍然仅包含片段;
memory_get仍然仅限于记忆文件。 - 会话索引按每个智能体隔离 (仅索引该智能体的会话日志)。
- 会话日志存放在磁盘上 (
~/.openclaw/agents/<agentId>/sessions/*.jsonl)。任何具有文件系统访问权限的进程/用户都可以读取它们,因此将磁盘访问视为信任边界。为了更严格的隔离,请在独立的 OS 用户或主机下运行智能体。
增量阈值 (显示默认值):
agents: {
defaults: {
memorySearch: {
sync: {
sessions: {
deltaBytes: 100000, // ~100 KB
deltaMessages: 50 // JSONL 行
}
}
}
}
}
SQLite 向量加速 (sqlite-vec)
当 sqlite-vec 扩展可用时,OpenClaw 会将嵌入存储在 SQLite 虚拟表 (vec0) 中,并在数据库中执行向量距离查询。这保持了搜索速度,而无需将每个嵌入加载到 JS 中。
配置 (可选):
agents: {
defaults: {
memorySearch: {
store: {
vector: {
enabled: true,
extensionPath: "/path/to/sqlite-vec"
}
}
}
}
}
注意:
enabled默认为 true;禁用时,搜索回退到存储嵌入上的进程内余弦相似度。- 如果 sqlite-vec 扩展缺失或加载失败,OpenClaw 会记录错误并继续使用 JS 回退 (无向量表)。
extensionPath覆盖捆绑的 sqlite-vec 路径 (适用于自定义构建或非标准安装位置)。
本地嵌入自动下载
- 默认本地嵌入模型:
hf:ggml-org/embeddinggemma-300M-GGUF/embeddinggemma-300M-Q8_0.gguf(~0.6 GB)。 - 当
memorySearch.provider = "local"时,node-llama-cpp解析modelPath;如果 GGUF 缺失,它会自动下载到缓存 (或设置了local.modelCacheDir时),然后加载它。下载在重试时恢复。 - 本地构建要求:运行
pnpm approve-builds,选择node-llama-cpp,然后运行pnpm rebuild node-llama-cpp。 - 回退:如果本地设置失败且
memorySearch.fallback = "openai",我们会自动切换到远程嵌入 (openai/text-embedding-3-small,除非被覆盖) 并记录原因。
自定义 OpenAI 兼容终结点示例
agents: {
defaults: {
memorySearch: {
provider: "openai",
model: "text-embedding-3-small",
remote: {
baseUrl: "[https://api.example.com/v1/](https://api.example.com/v1/)",
apiKey: "YOUR_REMOTE_API_KEY",
headers: {
"X-Organization": "org-id",
"X-Project": "project-id"
}
}
}
}
}
注意:
remote.*优先于models.providers.openai.*。remote.headers与 OpenAI 标头合并;远程胜过键冲突。省略remote.headers以使用 OpenAI 默认值。
上下文窗口与压缩 (Context Window & Compaction)
每个模型都有一个上下文窗口(它能看到的最大 Token 数)。长对话会累积消息和工具结果;一旦窗口变得紧张,OpenClaw 就会压缩较旧的历史记录,以保持在限制范围内。
什么是压缩
压缩将较旧的对话总结为一个紧凑的总结条目,并保持最近的消息原封不动。该总结存储在会话历史记录中,因此未来的请求将使用:
- 压缩总结
- 压缩点之后的最近消息
压缩会持久化在会话的 JSONL 历史记录中。
配置
请参阅 [压缩配置与模式 (/concepts/compaction)] 获取 agents.defaults.compaction 设置。
自动压缩 (默认开启)
当会话接近或超过模型的上下文窗口时,OpenClaw 会触发自动压缩,并可能使用压缩后的上下文重试原始请求。
您将看到:
- 在详细模式下的
🧹 Auto-compaction complete /status显示🧹 Compactions: <count>
在压缩之前,OpenClaw 可以运行一个静默记忆刷新轮次,将持久化笔记写入磁盘。详情和配置请参见 [记忆 (/concepts/memory)]。
手动压缩
使用 /compact (可选择带上指令) 来强制进行压缩:
/compact Focus on decisions and open questions
(专注于决定和悬而未决的问题)
上下文窗口来源
上下文窗口是特定于模型的。OpenClaw 使用配置的提供商目录中的模型定义来确定限制。
压缩 vs 修剪 (Pruning)
- 压缩 (Compaction): 总结并在 JSONL 中持久化。
- 会话修剪 (Pruning): 仅在内存中,按请求修剪旧的工具结果。
修剪详情请参见 /concepts/session-pruning。
提示
- 当会话感觉陈旧或上下文臃肿时,请使用
/compact。 - 大型工具输出已经被截断;修剪可以进一步减少工具结果的堆积。
- 如果您需要一个全新的开始,
/new或/reset会启动一个新的会话 ID。
多智能体路由 (Multi-Agent Routing)
目标:在同一个运行的网关中,拥有多个隔离的智能体(独立的运行空间 + agentDir + 会话),以及多个频道账号(例如两个 WhatsApp)。入站消息通过绑定路由到智能体。
什么是“一个智能体”?
一个智能体 (Agent) 是一个具有完整作用域的“大脑”,它拥有自己的:
- 工作空间 (Workspace): 文件、
AGENTS.md/SOUL.md/USER.md、本地笔记、角色规则。 - 状态目录 (
agentDir): 用于授权配置文件、模型注册表和每个智能体的配置。 - 会话存储 (Session store): 聊天记录 + 路由状态,存放在
~/.openclaw/agents/<agentId>/sessions。
授权配置文件是每个智能体独立的。每个智能体从自己的目录读取:
~/.openclaw/agents/<agentId>/agent/auth-profiles.json
主智能体的凭据不会自动共享。绝不要在多个智能体之间复用 agentDir(这会导致授权/会话冲突)。如果您想共享凭据,请将 auth-profiles.json 复制到另一个智能体的 agentDir 中。
技能是基于每个智能体工作空间中的 skills/ 文件夹来定义的,同时也支持从 ~/.openclaw/skills 获取共享技能。请参阅 Skills: per-agent vs shared。
网关可以承载一个智能体(默认)或多个智能体并排运行。
工作空间注意: 每个智能体的工作空间是默认当前目录 (cwd),不是一个严格的沙盒。相对路径会在工作空间内解析,但绝对路径可以访问其他主机位置,除非启用了沙盒模式。请参阅 Sandboxing。
路径(快速映射)
- 配置:
~/.openclaw/openclaw.json(或OPENCLAW_CONFIG_PATH) - 状态目录:
~/.openclaw(或OPENCLAW_STATE_DIR) - 工作空间:
~/.openclaw/workspace(或~/.openclaw/workspace-<agentId>) - 智能体目录:
~/.openclaw/agents/<agentId>/agent(或agents.list[].agentDir) - 会话:
~/.openclaw/agents/<agentId>/sessions
单智能体模式(默认)
如果您不做任何配置,OpenClaw 会运行一个单智能体:
agentId默认为main。- 会话键为
agent:main:<mainKey>。 - 工作空间默认为
~/.openclaw/workspace(或者设置了OPENCLAW_PROFILE时为~/.openclaw/workspace-<profile>)。 - 状态默认为
~/.openclaw/agents/main/agent。
智能体助手
使用智能体向导添加新的隔离智能体:
openclaw agents add work
然后添加 bindings(或者让向导代劳)以路由入站消息。
使用以下命令验证:
openclaw agents list --bindings
多个智能体 = 多个人,多种性格
使用多个智能体时,每个 agentId 都会成为一个完全隔离的角色:
- 不同的电话号码/账号(每个频道的
accountId)。 - 不同的性格(每个智能体工作空间文件,如
AGENTS.md和SOUL.md)。 - 独立的授权 + 会话(除非显式启用,否则没有交叉对话)。
这允许多个人共享一个网关服务器,同时保持他们的 AI“大脑”和数据隔离。
一个 WhatsApp 号码,多人使用(DM 分割)
您可以在保持一个 WhatsApp 账号的同时,将不同的 WhatsApp DM(私聊)路由到不同的智能体。通过 peer.kind: "direct" 匹配发送者的 E.164 号码(例如 +15551234567)。回复仍然来自同一个 WhatsApp 号码(没有每个智能体的发送者身份)。
重要细节:直接聊天会塌陷到智能体的主会话键,因此真正的隔离需要每人一个智能体。
示例:
{
agents: {
list: [
{ id: "alex", workspace: "~/.openclaw/workspace-alex" },
{ id: "mia", workspace: "~/.openclaw/workspace-mia" },
],
},
bindings: [
{
agentId: "alex",
match: { channel: "whatsapp", peer: { kind: "direct", id: "+15551230001" } },
},
{
agentId: "mia",
match: { channel: "whatsapp", peer: { kind: "direct", id: "+15551230002" } },
},
],
channels: {
whatsapp: {
dmPolicy: "allowlist",
allowFrom: ["+15551230001", "+15551230002"],
},
},
}
注意:
- DM 访问控制是每个 WhatsApp 账号全局的(配对/白名单),而不是每个智能体的。
- 对于共享群组,请将群组绑定到一个智能体,或使用 广播群组 (Broadcast groups)。
路由规则(消息如何选择智能体)
绑定是确定性的,且最具体者优先:
peer匹配(确切的 DM/群组/频道 ID)guildId(Discord)teamId(Slack)- 频道的
accountId匹配 - 频道级匹配 (
accountId: "*") - 回退到默认智能体(
agents.list[].default,否则为列表第一项,默认:main)
多个账号 / 电话号码
支持多个账号的频道(例如 WhatsApp)使用 accountId 来识别每个登录。每个 accountId 可以路由到不同的智能体,因此一台服务器可以承载多个电话号码而不会混合会话。
概念
agentId: 一个“大脑”(工作空间、每个智能体的授权、每个智能体的会话存储)。accountId: 一个频道账号实例(例如 WhatsApp 账号"personal"vs"biz")。binding: 通过(channel, accountId, peer)以及可选的 guild/team ID 将入站消息路由到agentId。- 直接聊天塌陷为
agent:<agentId>:<mainKey>(每个智能体的“主”会话;session.mainKey)。
示例:两个 WhatsApps → 两个智能体
~/.openclaw/openclaw.json (JSON5):
{
agents: {
list: [
{
id: "home",
default: true,
name: "Home",
workspace: "~/.openclaw/workspace-home",
agentDir: "~/.openclaw/agents/home/agent",
},
{
id: "work",
name: "Work",
workspace: "~/.openclaw/workspace-work",
agentDir: "~/.openclaw/agents/work/agent",
},
],
},
// 确定性路由:第一次匹配获胜(最具体者优先)。
bindings: [
{ agentId: "home", match: { channel: "whatsapp", accountId: "personal" } },
{ agentId: "work", match: { channel: "whatsapp", accountId: "biz" } },
// 可选的每个对等点覆盖(示例:将特定群组发送到工作智能体)。
{
agentId: "work",
match: {
channel: "whatsapp",
accountId: "personal",
peer: { kind: "group", id: "1203630...@g.us" },
},
},
],
// 默认关闭:智能体间消息传递必须显式启用 + 加入白名单。
tools: {
agentToAgent: {
enabled: false,
allow: ["home", "work"],
},
},
channels: {
whatsapp: {
accounts: {
personal: {
// 可选覆盖。默认:~/.openclaw/credentials/whatsapp/personal
// authDir: "~/.openclaw/credentials/whatsapp/personal",
},
biz: {
// 可选覆盖。默认:~/.openclaw/credentials/whatsapp/biz
// authDir: "~/.openclaw/credentials/whatsapp/biz",
},
},
},
},
}
示例:WhatsApp 日常聊天 + Telegram 深度工作
按频道拆分:将 WhatsApp 路由到快速的日常智能体,将 Telegram 路由到 Opus 智能体。
{
agents: {
list: [
{
id: "chat",
name: "Everyday",
workspace: "~/.openclaw/workspace-chat",
model: "anthropic/claude-sonnet-4-5",
},
{
id: "opus",
name: "Deep Work",
workspace: "~/.openclaw/workspace-opus",
model: "anthropic/claude-opus-4-6",
},
],
},
bindings: [
{ agentId: "chat", match: { channel: "whatsapp" } },
{ agentId: "opus", match: { channel: "telegram" } },
],
}
注意:
- 如果您在一个频道上有多个账号,请将
accountId添加到绑定中(例如{ channel: "whatsapp", accountId: "personal" })。 - 若要将单个 DM/群组路由到 Opus,同时保持其余内容在聊天智能体上,请为该对等点添加
match.peer绑定;对等点匹配总是优于频道范围的规则。
示例:同一频道,一个对等点到 Opus
保持 WhatsApp 在快速智能体上,但将一个 DM 路由到 Opus:
{
agents: {
list: [
{
id: "chat",
name: "Everyday",
workspace: "~/.openclaw/workspace-chat",
model: "anthropic/claude-sonnet-4-5",
},
{
id: "opus",
name: "Deep Work",
workspace: "~/.openclaw/workspace-opus",
model: "anthropic/claude-opus-4-6",
},
],
},
bindings: [
{
agentId: "opus",
match: { channel: "whatsapp", peer: { kind: "direct", id: "+15551234567" } },
},
{ agentId: "chat", match: { channel: "whatsapp" } },
],
}
对等绑定总是优先,因此请将它们放在频道范围规则之前。
绑定到 WhatsApp 群组的家庭智能体
将专用的家庭智能体绑定到一个 WhatsApp 群组,使用提及门控和更严格的工具策略:
{
agents: {
list: [
{
id: "family",
name: "Family",
workspace: "~/.openclaw/workspace-family",
identity: { name: "Family Bot" },
groupChat: {
mentionPatterns: ["@family", "@familybot", "@Family Bot"],
},
sandbox: {
mode: "all",
scope: "agent",
},
tools: {
allow: [
"exec",
"read",
"sessions_list",
"sessions_history",
"sessions_send",
"sessions_spawn",
"session_status",
],
deny: ["write", "edit", "apply_patch", "browser", "canvas", "nodes", "cron"],
},
},
],
},
bindings: [
{
agentId: "family",
match: {
channel: "whatsapp",
peer: { kind: "group", id: "120363999999999999@g.us" },
},
},
],
}
注意:
- 工具允许/拒绝列表是工具,而不是技能。如果技能需要运行二进制文件,请确保允许
exec且二进制文件存在于沙盒中。 - 若要更严格的门控,请设置
agents.list[].groupChat.mentionPatterns并保持频道的群组白名单启用。
每个智能体的沙盒和工具配置
从 v2026.1.6 开始,每个智能体可以有自己的沙盒和工具限制:
{
agents: {
list: [
{
id: "personal",
workspace: "~/.openclaw/workspace-personal",
sandbox: {
mode: "off", // 个人智能体不使用沙盒
},
// 没有工具限制 - 可用所有工具
},
{
id: "family",
workspace: "~/.openclaw/workspace-family",
sandbox: {
mode: "all", // 始终使用沙盒
scope: "agent", // 每个智能体一个容器
docker: {
// 可选的容器创建后一次性设置
setupCommand: "apt-get update && apt-get install -y git curl",
},
},
tools: {
allow: ["read"], // 仅允许 read 工具
deny: ["exec", "write", "edit", "apply_patch"], // 拒绝其他
},
},
],
},
}
注意:setupCommand 存放在 sandbox.docker 下,并在容器创建时运行一次。当解析的作用域为 "shared" 时,每个智能体的 sandbox.docker.* 覆盖会被忽略。
优势:
- 安全隔离:限制不受信任的智能体的工具
- 资源控制:沙盒化特定智能体,同时保持其他智能体在主机上运行
- 灵活策略:每个智能体有不同的权限
注意:tools.elevated 是全局的且基于发送者;它不能按智能体配置。如果您需要每个智能体的边界,请使用 agents.list[].tools 拒绝 exec。对于群组定位,请使用 agents.list[].groupChat.mentionPatterns,以便 @提及能清晰地映射到预期的智能体。
详尽示例请参阅 Multi-Agent Sandbox & Tools。
在线状态 (Presence)
OpenClaw 的“在线状态”是对以下内容的轻量级、尽力而为的视图:
- 网关 (Gateway) 本身,以及
- 连接到网关的客户端(Mac 应用、WebChat、CLI 等)。
在线状态主要用于渲染 macOS 应用的实例 (Instances) 选项卡,并为操作员提供快速可见性。
在线状态字段(显示内容)
在线状态条目是带有以下字段的结构化对象:
instanceId(可选,但强烈建议):稳定的客户端标识(通常为connect.client.instanceId)。host:对人类友好的主机名。ip:尽力而为的 IP 地址。version:客户端版本字符串。deviceFamily/modelIdentifier:硬件提示。mode:ui,webchat,cli,backend,probe,test,node, …lastInputSeconds:“自上次用户输入以来的秒数”(如果已知)。reason:self,connect,node-connected,periodic, …ts:最后更新时间戳(自纪元以来的毫秒数)。
生产者(在线状态来源)
在线状态条目由多个来源产生并合并。
1) 网关自身条目
网关总是在启动时播种一个“自身”条目,以便 UI 在任何客户端连接之前就能显示网关主机。
2) WebSocket 连接
每个 WS 客户端都以 connect 请求开始。在握手成功后,网关会为此连接插入或更新在线状态条目。
为什么一次性 CLI 命令不显示
CLI 通常连接用于短时间、一次性的命令。为了避免向实例列表发送垃圾信息,client.mode === "cli" 不会转化为在线状态条目。
3) system-event 信标
客户端可以通过 system-event 方法发送更丰富的周期性信标。Mac 应用使用此方法报告主机名、IP 和 lastInputSeconds。
4) 节点连接 (角色:node)
当节点通过网关 WebSocket 以 role: node 连接时,网关会为该节点插入或更新在线状态条目(流程与其它 WS 客户端相同)。
合并 + 去重规则(为什么 instanceId 很重要)
在线状态条目存储在一个内存映射中:
- 条目以在线状态键 (presence key) 为键。
- 最好的键是稳定的
instanceId(来自connect.client.instanceId),它在重启后依然有效。 - 键不区分大小写。
如果客户端在没有稳定 instanceId 的情况下重新连接,它可能会显示为重复的行。
TTL 和边界大小
在线状态在设计上是瞬时的:
- TTL: 超过 5 分钟的条目会被修剪。
- 最大条目数: 200(优先丢弃最旧的)。
这保持了列表的新鲜感,并避免了内存的无限制增长。
远程/隧道警告(回环 IP)
当客户端通过 SSH 隧道/本地端口转发连接时,网关可能会将远程地址视为 127.0.0.1。为了避免覆盖客户端上报的有效 IP,回环远程地址会被忽略。
消费者
macOS 实例选项卡
macOS 应用渲染 system-presence 的输出,并根据最后更新的时间应用一个小状态指示器(活跃/空闲/陈旧)。
调试技巧
- 要查看原始列表,请针对网关调用
system-presence。 - 如果您看到重复项:
- 确认客户端在握手中发送了稳定的
client.instanceId。 - 确认周期性信标使用相同的
instanceId。 - 检查连接派生的条目是否缺少
instanceId(在这种情况下,预期会出现重复项)。
消息 (Messages)
此页面汇总了 OpenClaw 如何处理入站消息、会话、排队、流式传输和推理可见性。
消息流 (高层级)
入站消息
-> 路由/绑定 -> 会话键
-> 队列 (如果当前有正在进行的运行)
-> 智能体运行 (流式传输 + 工具)
-> 出站回复 (频道限制 + 分块)
关键参数位于配置文件中:
messages.*: 用于前缀、排队和群组行为。agents.defaults.*: 用于块流式传输和分块默认值。- 频道覆盖 (
channels.whatsapp.*,channels.telegram.*等): 用于限制和流式传输开关。
详尽架构请参阅 [配置 (/gateway/configuration)]。
入站去重 (Inbound dedupe)
频道可能会在重新连接后重新发送同一条消息。OpenClaw 使用频道/账号/对等点/会话/消息 ID 作为键的短寿命缓存,以确保重复投递不会触发另一次智能体运行。
入站防抖 (Inbound debouncing)
来自同一发送者的快速连续消息可以通过 messages.inbound 批量处理为单个智能体轮次。防抖的作用域是每个频道 + 对话,并使用最新的消息进行回复线程处理/ID 映射。
配置 (全局默认 + 每个频道的覆盖):
{
messages: {
inbound: {
debounceMs: 2000,
byChannel: {
whatsapp: 5000,
slack: 1500,
discord: 1500,
},
},
},
}
注意:
- 防抖仅适用于纯文本消息;媒体/附件会立即刷新。
- 控制命令会绕过防抖,保持独立。
会话和设备 (Sessions and devices)
会话由网关所有,而不是由客户端所有。
- 直接聊天塌陷到智能体的主会话键中。
- 群组/频道拥有自己的会话键。
- 会话存储和记录位于网关主机上。
多个设备/频道可以映射到同一个会话,但历史记录不会完全同步回每个客户端。建议:在长对话中使用一个主设备,以避免上下文不一致。控制界面 (Control UI) 和终端界面 (TUI) 始终显示网关支持的会话记录,因此它们是事实来源。
详情:[会话管理 (/concepts/session)]。
入站体和历史上下文 (Inbound bodies and history context)
OpenClaw 将提示词体 (prompt body) 与命令体 (command body) 分开:
Body: 发送给智能体的提示词文本。这可能包含频道信封和可选的历史记录包装。CommandBody: 用于指令/命令解析的原始用户文本。RawBody:CommandBody的旧别名(保留用于兼容性)。
当频道提供历史记录时,它使用共享包装器:
[Chat messages since your last reply - for context](自您上次回复以来的聊天消息 - 用于上下文)[Current message - respond to this](当前消息 - 对此做出回应)
对于非直接聊天(群组/频道/房间),当前消息体会以发送者标签为前缀(与历史记录条目使用的样式相同)。这使得实时消息和排队/历史消息在智能体提示词中保持一致。
历史记录缓冲区是仅挂起 (pending-only) 的:它们包含未触发运行的群组消息(例如,提及限制的消息),并排除会话记录中已有的消息。
指令剥离仅适用于当前消息部分,因此历史记录保持完整。包装历史记录的频道应将 CommandBody(或 RawBody)设置为原始消息文本,并将 Body 保持为组合提示词。历史记录缓冲区可通过 messages.groupChat.historyLimit(全局默认)和每个频道的覆盖(如 channels.slack.historyLimit 或 channels.telegram.accounts.<id>.historyLimit,设置为 0 禁用)进行配置。
排队和后续 (Queueing and followups)
如果运行已处于活跃状态,入站消息可以排队、引导至当前运行,或收集起来用于后续轮次。
- 通过
messages.queue(和messages.queue.byChannel)配置。 - 模式:
interrupt(中断),steer(引导),followup(后续),collect(收集),以及 backlog 变体。
详情:[排队 (/concepts/queue)]。
流式传输、分块和批处理 (Streaming, chunking, and batching)
块流式传输在模型产生文本块时发送部分回复。分块遵守频道文本限制,并避免拆分围栏代码块。
关键设置:
agents.defaults.blockStreamingDefault(on|off,默认 off)agents.defaults.blockStreamingBreak(text_end|message_end)agents.defaults.blockStreamingChunk(minChars|maxChars|breakPreference)agents.defaults.blockStreamingCoalesce(基于空闲的批处理)agents.defaults.humanDelay(块回复之间的人类暂停)- 频道覆盖:
*.blockStreaming和*.blockStreamingCoalesce(非 Telegram 频道需要显式*.blockStreaming: true)
详情:[流式传输 + 分块 (/concepts/streaming)]。
推理可见性和 Token (Reasoning visibility and tokens)
OpenClaw 可以公开或隐藏模型推理:
/reasoning on|off|stream控制可见性。- 推理内容在由模型产生时仍然计入 Token 使用量。
- Telegram 支持将推理流传输到草稿气泡中。
详情:[思考 + 推理指令 (/tools/thinking)] 和 [Token 使用 (/reference/token-use)]。
前缀、线程和回复 (Prefixes, threading, and replies)
出站消息格式化在 messages 中集中处理:
messages.responsePrefix,channels.<channel>.responsePrefix, 和channels.<channel>.accounts.<id>.responsePrefix(出站前缀级联),以及channels.whatsapp.messagePrefix(WhatsApp 入站前缀)- 通过
replyToMode和每个频道的默认值进行回复线程化
详情:[配置 (/gateway/configuration#messages)] 和频道文档。
流式传输 + 分块 (Streaming + chunking)
OpenClaw 有两个独立的“流式传输”层:
- 块流式传输 (块) (Block streaming (channels)): 随着助手的书写,发出已完成的块 (blocks)。这些是普通的频道消息(不是 Token 增量)。
- 类 Token 流式传输 (仅限 Telegram): 在生成时使用部分文本更新草稿气泡 (draft bubble);最后发送最终消息。
目前外部频道消息中没有真正的 Token 流式传输。Telegram 草稿流式传输是唯一的部分流表面。
块流式传输(频道消息)
块流式传输以粗略的块为单位发送助手输出。
模型输出
└─ text_delta/events (文本增量/事件)
├─ (blockStreamingBreak=text_end) (文本结束)
│ └─ 分块器随着缓冲区的增长发出块
└─ (blockStreamingBreak=message_end) (消息结束)
└─ 分块器在消息结束时刷新
└─ 频道发送 (块回复)
图例:
text_delta/events: 模型流事件(对于非流模型可能比较稀疏)。chunker:EmbeddedBlockChunker应用最小/最大界限 + 断点首选项。channel send: 实际的出站消息(块回复)。
控制:
agents.defaults.blockStreamingDefault:"on"/"off"(默认 off)。- 频道覆盖:
*.blockStreaming(及每个账号的变体) 可强制每个频道的"on"/"off"。 agents.defaults.blockStreamingBreak:"text_end"或"message_end"。agents.defaults.blockStreamingChunk:{ minChars, maxChars, breakPreference? }。agents.defaults.blockStreamingCoalesce:{ minChars?, maxChars?, idleMs? }(在发送前合并流式块)。- 频道硬上限:
*.textChunkLimit(例如channels.whatsapp.textChunkLimit)。 - 频道分块模式:
*.chunkMode(length默认,newline在长度分块前按空行(段落边界)拆分)。 - Discord 软上限:
channels.discord.maxLinesPerMessage(默认 17) 拆分过长的回复,以避免 UI 截断。
边界语义:
text_end: 一旦分块器发出就流式传输块;在每个text_end刷新。message_end: 等待助手消息完成,然后刷新缓冲的输出。
如果缓冲文本超过 maxChars,message_end 仍然使用分块器,因此它可以在最后发出多个块。
分块算法(低/高界限)
块分块由 EmbeddedBlockChunker 实现:
- 低界限 (Low bound): 在缓冲区 >=
minChars之前不要发出(除非强制)。 - 高界限 (High bound): 优先在
maxChars之前拆分;如果强制,在maxChars处拆分。 - 断点首选项 (Break preference): 段落 → 换行 → 句子 → 空格 → 强制断点。
- 代码围栏 (Code fences): 绝不在围栏内拆分;当强制在
maxChars处拆分时,关闭 + 重新打开围栏以保持 Markdown 有效。
maxChars 被限制在频道 textChunkLimit 内,因此您不能超过每个频道的上限。
合并(合并流式块)
当启用块流式传输时,OpenClaw 可以合并连续的块后再发送。这减少了“单行垃圾信息”,同时仍然提供渐进式输出。
- 合并会在刷新前等待空闲间隙 (
idleMs)。 - 缓冲区受
maxChars限制,如果超过该限制将刷新。 minChars防止微小片段在积累足够的文本之前发送(最终刷新总是发送剩余文本)。- 连接符派生自
blockStreamingChunk.breakPreference(段落 →\n\n,换行 →\n,句子 → 空格)。 - 频道覆盖可通过
*.blockStreamingCoalesce获得(包括每个账号的配置)。 - 默认合并
minChars在 Signal/Slack/Discord 中被提升至 1500,除非被覆盖。
块之间的人类般的节奏
当启用块流式传输时,您可以在块回复之间(第一个块之后)添加随机暂停。这使多气泡回复感觉更自然。
- 配置:
agents.defaults.humanDelay(通过agents.list[].humanDelay按智能体覆盖)。 - 模式:
off(默认),natural(800–2500ms),custom(minMs/maxMs)。 - 仅适用于块回复,不适用于最终回复或工具总结。
“流式块还是所有内容”
这映射到:
- 流式块 (Stream chunks):
blockStreamingDefault: "on"+blockStreamingBreak: "text_end"(即时发出)。非 Telegram 频道还需要*.blockStreaming: true。 - 最后流式传输所有内容 (Stream everything at end):
blockStreamingBreak: "message_end"(刷新一次,如果非常长则可能有多个块)。 - 无块流式传输 (No block streaming):
blockStreamingDefault: "off"(仅最终回复)。
频道注意: 对于非 Telegram 频道,块流式传输除非 *.blockStreaming 被显式设置为 true,否则为 off。Telegram 可以在没有块回复的情况下流式传输草稿 (channels.telegram.streamMode)。
配置位置提醒: blockStreaming* 默认值存放在 agents.defaults 下,而不是根配置。
Telegram 草稿流式传输(类 Token)
Telegram 是唯一具有草稿流式传输的频道:
- 在带有话题的私人聊天中使用 Bot API
sendMessageDraft。 channels.telegram.streamMode: "partial" | "block" | "off"。partial: 草稿随最新的流文本更新。block: 草稿以分块的形式更新(与块分块规则相同)。-
off: 无草稿流式传输。 - 草稿分块配置(仅用于
streamMode: "block"):channels.telegram.draftChunk(默认值:minChars: 200,maxChars: 800)。 - 草稿流式传输与块流式传输分开;块回复默认关闭,仅在非 Telegram 频道上通过
*.blockStreaming: true启用。 - 最终回复仍然是普通消息。
/reasoning stream将推理写入草稿气泡中(仅限 Telegram)。
当草稿流式传输处于活动状态时,OpenClaw 会禁用该回复的块流式传输,以避免双重流式传输。
Telegram (私人 + 话题)
└─ sendMessageDraft (草稿气泡)
├─ streamMode=partial → 更新最新文本
└─ streamMode=block → 分块器更新草稿
└─ 最终回复 → 普通消息
图例:
sendMessageDraft: Telegram 草稿气泡(不是真正的消息)。final reply: 普通 Telegram 消息发送。
重试策略 (Retry policy)
目标
- 针对每个 HTTP 请求进行重试,而不是针对多步骤流程。
- 通过仅重试当前步骤来保持顺序。
- 避免重复执行非幂等操作。
默认值
- 重试次数 (Attempts): 3
- 最大延迟上限 (Max delay cap): 30000 毫秒
- 抖动 (Jitter): 0.1 (10%)
- 提供商默认值:
- Telegram 最小延迟: 400 毫秒
- Discord 最小延迟: 500 毫秒
行为
Discord
- 仅在触发速率限制错误 (HTTP 429) 时重试。
- 在可用时使用 Discord 的
retry_after,否则使用指数退避 (exponential backoff)。
Telegram
- 在瞬时错误 (429、超时、连接重置/关闭、临时不可用) 时重试。
- 在可用时使用
retry_after,否则使用指数退避。 - Markdown 解析错误不进行重试;直接回退为纯文本。
配置
在 ~/.openclaw/openclaw.json 中按提供商设置重试策略:
{
channels: {
telegram: {
retry: {
attempts: 3,
minDelayMs: 400,
maxDelayMs: 30000,
jitter: 0.1,
},
},
discord: {
retry: {
attempts: 3,
minDelayMs: 500,
maxDelayMs: 30000,
jitter: 0.1,
},
},
},
}
注意事项
- 重试适用于每个请求(发送消息、上传媒体、表情反应、投票、贴纸)。
- 复合流程不会重试已完成的步骤。
命令队列 (Command Queue)
我们将入站的自动回复运行(所有频道)通过一个微小的进程内队列进行序列化,以防止多个智能体运行发生冲突,同时仍允许跨会话的安全并行处理。
为什么需要
- 自动回复运行可能代价昂贵(LLM 调用),并且在多条入站消息同时到达时会发生冲突。
- 序列化避免了对共享资源(会话文件、日志、CLI 标准输入)的争用,并减少了上游速率限制的可能性。
工作原理
- 一个感知通道的 FIFO(先进先出)队列以可配置的并发上限处理每个通道(未配置通道默认为 1;main 默认为 4,子智能体默认为 8)。
runEmbeddedPiAgent按会话键(通道session:<key>)入队,以确保每个会话只有一个活跃的运行。- 然后,每个会话的运行被入队到全局通道(默认为
main),因此整体并行度受agents.defaults.maxConcurrent限制。 - 当启用详细日志记录时,如果排队的运行在开始前等待了约 2 秒以上,则会发出简短的通知。
- 正在输入提示(当频道支持时)仍会立即在入队时触发,因此我们在等待排队时用户体验不会改变。
队列模式 (每频道)
入站消息可以引导当前运行、等待后续轮次,或两者兼具:
steer: 立即注入当前运行中(在下一个工具边界后取消挂起的工具调用)。如果未进行流式传输,则回退到 followup。followup: 在当前运行结束后入队,等待下一个智能体轮次。collect: 将所有排队的消息合并为单个后续轮次(默认)。如果消息针对不同的频道/线程,它们将分别排出以保留路由。steer-backlog(即steer+backlog): 立即引导并且保留消息以用于后续轮次。interrupt(旧版): 中止该会话的活跃运行,然后运行最新消息。queue(旧版别名): 与steer相同。
Steer-backlog 意味着您可以在引导运行后获得后续响应,因此流式传输界面可能看起来像重复项。如果您希望每条入站消息对应一个响应,请优先使用 collect/steer。
发送 /queue collect 作为独立命令(每会话)或设置 messages.queue.byChannel.discord: "collect"。
默认值(未在配置中设置时):
- 所有界面 →
collect
通过 messages.queue 进行全局或按频道配置:
{
messages: {
queue: {
mode: "collect",
debounceMs: 1000,
cap: 20,
drop: "summarize",
byChannel: { discord: "collect" },
},
},
}
队列选项
选项适用于 followup、collect 和 steer-backlog(以及回退到 followup 时的 steer):
debounceMs: 在开始后续轮次前等待静默期(防止“继续,继续”)。cap: 每个会话排队的最大消息数。drop: 溢出策略 (old,new,summarize)。
Summarize 会保留一份已丢弃消息的简短项目符号列表,并将其作为合成的后续提示词注入。
默认值: debounceMs: 1000, cap: 20, drop: summarize。
会话级覆盖
- 发送
/queue <mode>作为独立命令来存储当前会话的模式。 - 选项可以组合:
/queue collect debounce:2s cap:25 drop:summarize /queue default或/queue reset清除会话覆盖。
范围和保证
- 适用于使用网关回复流水线的所有入站频道(WhatsApp Web、Telegram、Slack、Discord、Signal、iMessage、WebChat 等)的自动回复智能体运行。
- 默认通道 (
main) 是进程范围的,用于入站 + 主心跳;设置agents.defaults.maxConcurrent以允许并行处理多个会话。 - 可能存在其他通道(例如
cron、subagent),以便后台作业可以并行运行而不阻塞入站回复。 - 每个会话的通道保证一次只有一个智能体运行处理给定的会话。
- 无外部依赖或后台工作线程;纯 TypeScript + Promise。
故障排除
- 如果命令似乎卡住,请启用详细日志并寻找“queued for …ms”行以确认队列正在排出。
- 如果需要队列深度,请启用详细日志并观察队列时间行。